授权公布号:CN214167866U
一种茶油提取装置
有效
申请
2020-12-17
申请公布
1970-01-01
授权
2021-09-10
预估到期
2030-12-17
| 申请号 | CN202023086202.2 |
| 申请日 | 2020-12-17 |
| 授权公布号 | CN214167866U |
| 授权公告日 | 2021-09-10 |
| 分类号 | C11B3/00 |
| 分类 | 动物或植物油、脂、脂肪物质或蜡;由此制取的脂肪酸;洗涤剂;蜡烛; |
| 申请人名称 | 广东宝华农业科技股份有限公司 |
| 申请人地址 | 广东省韶关市乳源县乳城镇侯公渡健民村 |
专利法律状态
2021-09-10
授权
状态信息
授权
摘要
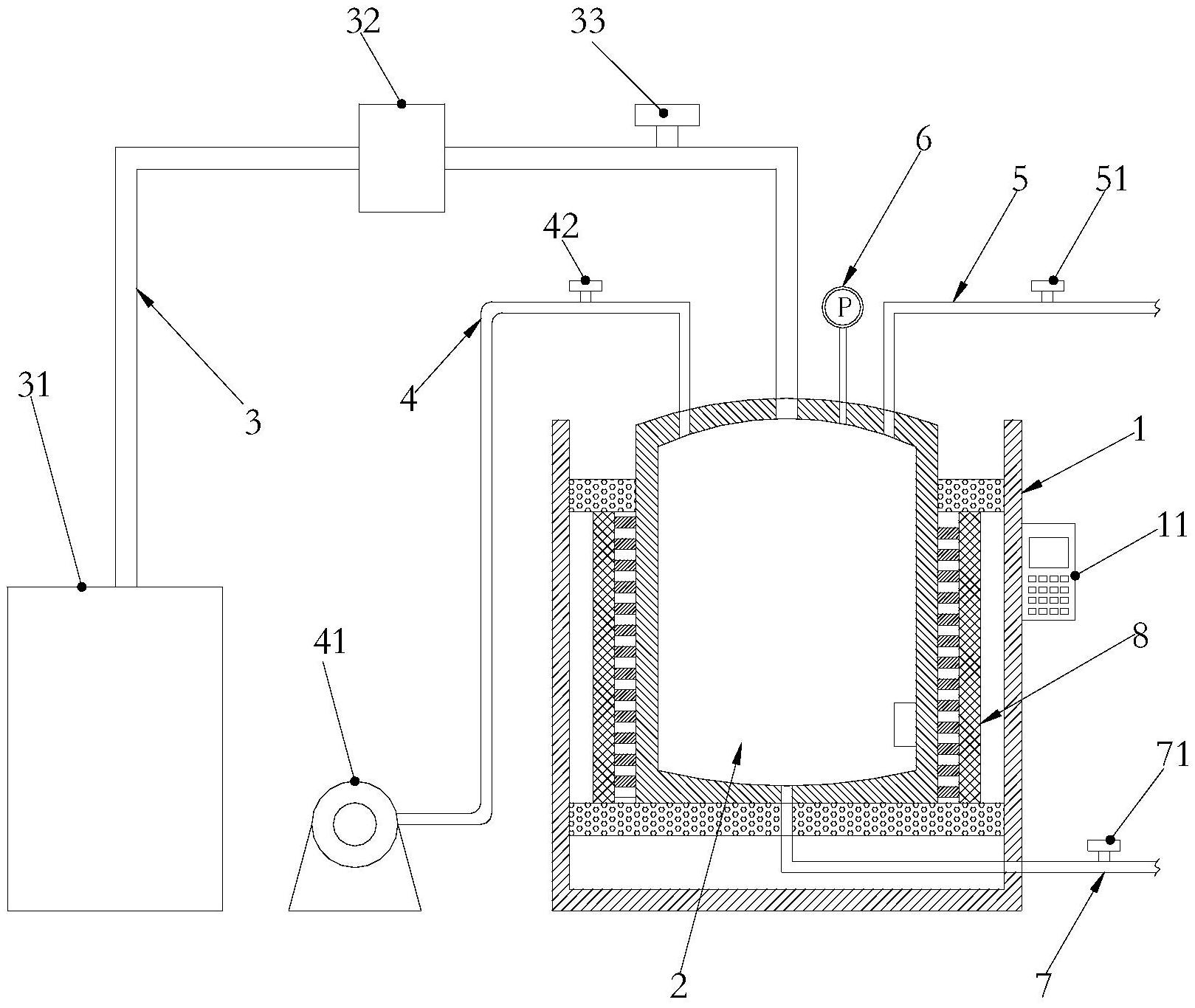
本实用新型公开一种茶油提取装置,包括外壳、精炼罐、排气管、抽真空管、进油管、压力变送器、出油管和加热机构;所述加热机构包括设置在所述精炼罐的外壁上的感应线圈,设置在所述感应线圈与外壳之间的磁导柱,设置在磁导柱顶部的导磁屏蔽顶板,设置在所述磁导柱底部的导磁屏蔽底板;通过感应线圈和磁导柱,可以利用电磁感应原理,均匀的加热精炼罐内部的茶油,还能通过导磁屏蔽顶板和导磁屏蔽底板把感应线圈外部的磁力线有效的聚集到精炼罐的内部,提升感应线圈的加热效果,有利于感应线圈均匀的加热精炼罐内部的茶油,且还能通过抽真空管抽取精炼罐内部的空气,减少精炼罐的内部空气,减少精炼罐内部的氧化损耗,有利于精炼罐的加热均匀。


