授权公布号:CN217132654U
一种山茶油自动取样装置
有效
申请
2021-12-24
申请公布
1970-01-01
授权
2022-08-05
预估到期
2031-12-24
| 申请号 | CN202123300303.X |
| 申请日 | 2021-12-24 |
| 授权公布号 | CN217132654U |
| 授权公告日 | 2022-08-05 |
| 分类号 | G01N1/14;G01V9/00 |
| 分类 | 测量;测试; |
| 申请人名称 | 广东宝华农业科技股份有限公司 |
| 申请人地址 | 广东省韶关市乳源县乳城镇侯公渡健民村 |
专利法律状态
2022-08-05
授权
状态信息
授权
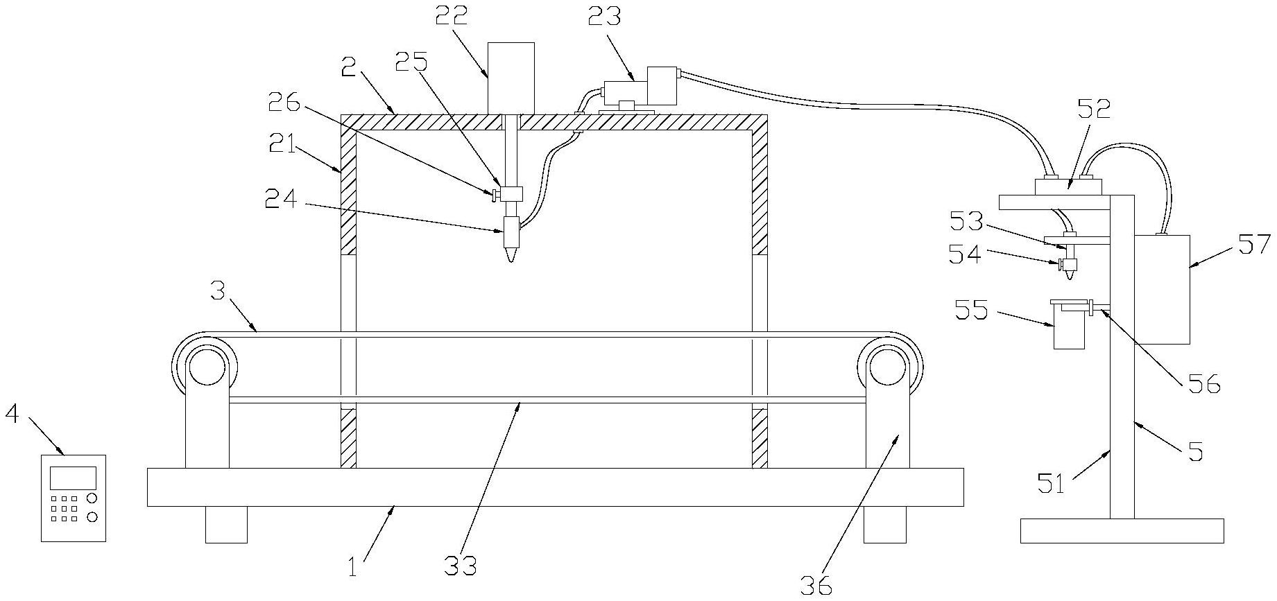
摘要
本实用新型公开了一种山茶油自动取样装置,包括底座、自动取样室、输送组合、控制器和油液样品收集架;所述自动取样室包括室架、伸缩缸、取样泵、取样吸头、固定块和检物传感器;本实用新型是通过所述检物传感器用于检测待取样油罐,当待取样油罐经由输送组合传送到检物传感器下方时,所述控制器控制伸缩缸向下,并开启取样泵,进行油液取样;之后,通过管道输送至所述出油喷头,由出油喷头流入采样罐中,油液检查器检测集液罐中有油液流入后,便发送电信号给控制器;所述控制器延迟几秒启动电磁阀关闭取样泵连接出油喷头的管道,同时开通连接集油箱的管道,将管道内部多余油液排入集油箱,避免影响下次取样;最终实现自动取样。


