授权公布号:CN213708375U
一种豆酱固体发酵设备
有效
申请
2020-08-03
申请公布
1970-01-01
授权
2021-07-16
预估到期
2030-08-03
| 申请号 | CN202021578664.3 |
| 申请日 | 2020-08-03 |
| 授权公布号 | CN213708375U |
| 授权公告日 | 2021-07-16 |
| 分类号 | C12M1/38;C12M1/36;C12M1/34;C12M1/04;C12M1/02;C12M1/00;A23L11/50 |
| 分类 | 生物化学;啤酒;烈性酒;果汁酒;醋;微生物学;酶学;突变或遗传工程; |
| 申请人名称 | 安庆市胡玉美酿造食品有限责任公司 |
| 申请人地址 | 安徽省安庆市黄土坑东路57号 |
专利法律状态
2021-07-16
授权
状态信息
授权
摘要
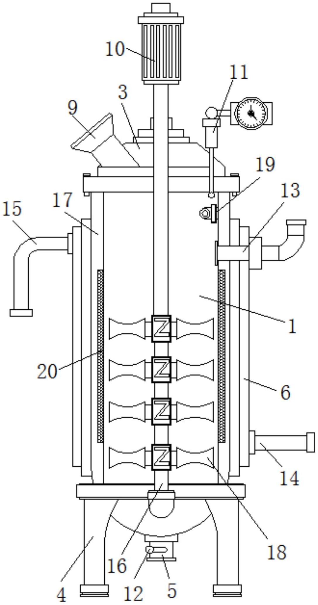
本实用新型公开了一种豆酱固体发酵设备,包括发酵罐,所述发酵罐外部正面上端的中间位置固定安装有观察窗,所述发酵罐的外部上端活动安装有罐盖,所述发酵罐外部底部的边侧位置固定安装有稳固支撑腿,所述发酵罐底部的中间位置开设有出料口,所述外冷却罐外部一侧的上端位置预设有营养液注入口,所述外冷却罐外部一侧的下端位置预设有冷却液进口,所述外冷却罐外部另一侧的上端位置预设有冷却液出口。该豆酱固体发酵设备,通过将整体设计为内外双层的一体式罐状结构,有效保证了整体结构的使用稳定性,并通过内外增设的加热与冷却组件,能够满足不同使用环境下的多种使用需求,有效提升了整体的使用效果以及工作性能,扩大了整体的适用范围。


