授权公布号:CN217940039U
一种用于调味酱加工搅拌用的上料装置
有效
申请
2022-07-11
申请公布
1970-01-01
授权
2022-12-02
预估到期
2032-07-11
| 申请号 | CN202221773233.1 |
| 申请日 | 2022-07-11 |
| 授权公布号 | CN217940039U |
| 授权公告日 | 2022-12-02 |
| 分类号 | B01F35/71;B01F27/906;B01F35/80;A23L27/60;B01F101/06N |
| 分类 | 一般的物理或化学的方法或装置; |
| 申请人名称 | 东莞市永益食品有限公司 |
| 申请人地址 | 广东省东莞市厚街福东路19号 |
专利法律状态
2022-12-02
授权
状态信息
授权
摘要
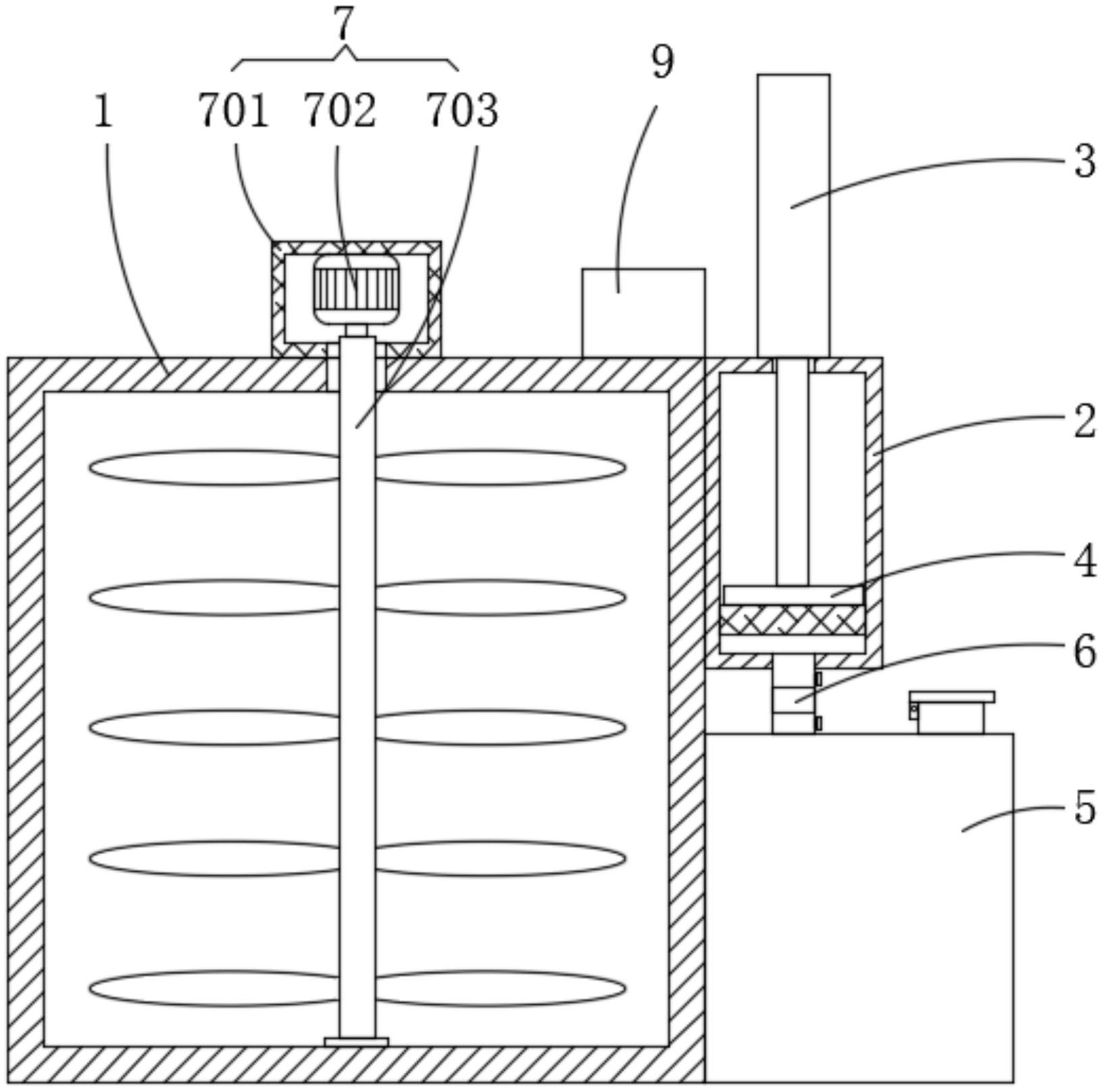
本实用新型公开了一种用于调味酱加工搅拌用的上料装置,属于搅拌设备技术领域,包括搅拌箱,所述搅拌箱一侧的顶部连接有定量管,所述定量管的顶部连接有自动伸缩杆;把调味酱原料分别注入存储箱内,当需要搅拌的调味酱原料需求是同量的时,然后通过控制器打开相应控制阀,再启动自动伸缩杆,自动伸缩杆的伸缩端带动移动板移动,移动板带动橡胶塞移动,在移动板带动橡胶塞移动时,使定量管的内腔产生负压,这时存储箱内部的调味酱远离会通过连接机构进入定量管内,然后关闭相应的控制阀,在打开阀门,即可把定量管内部的调味酱原料通过排料管排入搅拌箱内,省时省力,降低了人工劳动强度,保证了调味酱搅拌的效率。


