授权公布号:CN211055843U
一种牛肉酱生产原料的储存装置
有效
申请
2019-07-24
申请公布
1970-01-01
授权
2020-07-21
预估到期
2029-07-24
| 申请号 | CN201921179155.0 |
| 申请日 | 2019-07-24 |
| 授权公布号 | CN211055843U |
| 授权公告日 | 2020-07-21 |
| 分类号 | B65D88/74 |
| 分类 | 输送;包装;贮存;搬运薄的或细丝状材料; |
| 申请人名称 | 湖北尝香思食品有限公司 |
| 申请人地址 | 湖北省潜江市周叽管理区健康路北 |
专利法律状态
2020-07-21
授权
状态信息
授权
摘要
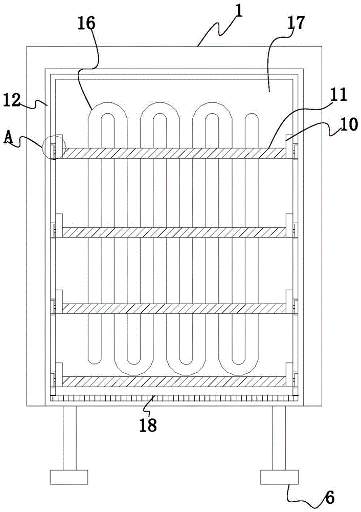
本实用新型公开了一种牛肉酱生产原料的储存装置,包括箱体、水箱、放置架、隔热板和循环管,箱体底部固定连接有底座,箱体内部设有降温室,降温室固定连接在箱体内壁上,水箱固定连接在箱体背部,水箱底部固定连接有水泵,循环管与水泵固定连接,箱体内部设有存放室,存放室底部设有干燥层,箱体前端通过合页活动连接有箱体门,箱体门外侧固定连接有把手,放置架上连接有支撑板,两个支撑板在远离放置架的一侧固定连接有滑杆,滑杆顶端与滚轮活动连接,该牛肉酱生产原料的储存装置,通过设置水箱、循环管可以利用循环水吸收箱体内部的热量,利用干燥层防止原料潮湿影响酱料的口感,解决了温度高导致变异、发霉、原料质量降低的问题。


