授权公布号:CN219790604U
一种带有自动检测功能的自动封箱机
有效
申请
2023-03-28
申请公布
1970-01-01
授权
2023-10-03
预估到期
2033-03-28
| 申请号 | CN202320644954.0 |
| 申请日 | 2023-03-28 |
| 授权公布号 | CN219790604U |
| 授权公告日 | 2023-10-03 |
| 分类号 | B65B7/26;B65B51/06;B65B57/00 |
| 分类 | 输送;包装;贮存;搬运薄的或细丝状材料; |
| 申请人名称 | 营口盐业有限责任公司 |
| 申请人地址 | 辽宁省营口市营柳路7号(路南镇十二连) |
专利法律状态
2023-10-03
授权
状态信息
授权
摘要
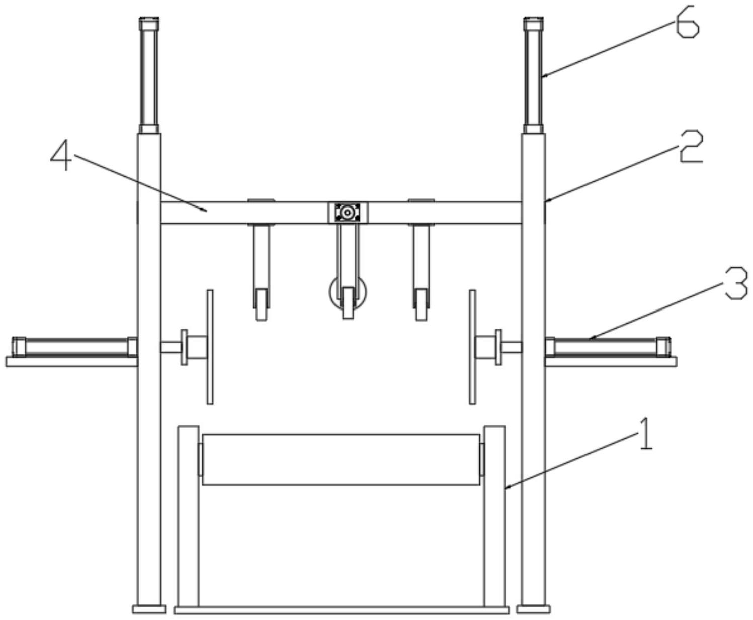
本实用新型公开了一种带有自动检测功能的自动封箱机,属于封箱机技术领域;本实用新型包括传送机构,所述传送机构两侧设置有机架,所述传送机构上方两侧对称设置有翻转机构,两个所述翻转机构分别设置于两个机架上,所述传送机构上方设置有封盖机构;本实用新型中通过设置封盖机构,封盖机构上设置的四个压板组件实现了对纸箱长边纸板和短边纸板的同步压合作业,压板组件底部设置的移动滚轮和压力传感器,利用移动滚轮两侧压力传感器的压力数据判定纸箱长边纸板和短边纸板有无完全压合,实现了纸箱封箱作业中的自我检测作业,避免纸箱长边和短边压合错位,造成纸箱封箱异常,提高了该自动封箱机的自动化程度。


