授权公布号:CN211391940U
一种立式调料灌装机
有效
申请
2019-12-19
申请公布
1970-01-01
授权
2020-09-01
预估到期
2029-12-19
| 申请号 | CN201922296629.6 |
| 申请日 | 2019-12-19 |
| 授权公布号 | CN211391940U |
| 授权公告日 | 2020-09-01 |
| 分类号 | B65B59/00 |
| 分类 | 输送;包装;贮存;搬运薄的或细丝状材料; |
| 申请人名称 | 四川自贡百味斋食品股份有限公司 |
| 申请人地址 | 四川省自贡市自流井区新街解放路居委会温州商城1号楼1B1-2号 |
专利法律状态
2020-09-01
授权
状态信息
授权
摘要
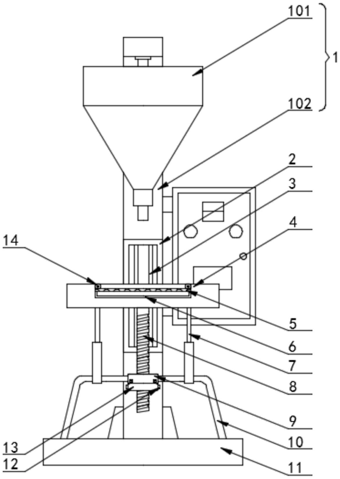
本实用新型公开了一种立式调料灌装机,包括灌装机主体,所述灌装机主体包括有装料斗与框架,所述框架竖直端底部固定安装有底座,所述装料斗下方设置有灌装平台,所述灌装平台底部固定安装有螺杆,所述框架竖直端前端面固定安装有固定板。本实用新型中,通过转动转动套,转动套通过内螺纹带动螺杆拉动灌装平台移动,而灌装平台在后端面的滑套与滑杆的滑动配合下保持水平地在竖直方向上移动,在这个过程中,伸缩连杆同步发生长度变化来保证灌装平台移动的稳定性,从而使得灌装平台可根据需求进行竖直方向上的高度变化,从提高了立式调料灌装机的适用范围。


