授权公布号:CN203591951U
芝麻降温除杂装置
失效
申请
2013-09-26
申请公布
1970-01-01
授权
2014-05-14
预估到期
2023-09-26
| 申请号 | CN201320598378.7 |
| 申请日 | 2013-09-26 |
| 授权公布号 | CN203591951U |
| 授权公告日 | 2014-05-14 |
| 分类号 | B07B9/00;F28C3/18 |
| 分类 | 将固体从固体中分离;分选; |
| 申请人名称 | 瑞福油脂股份有限公司 |
| 申请人地址 | 山东省潍坊市潍城区东风西街8999号 |
专利法律状态
2023-10-20
专利权的终止
状态信息
专利权有效期届满;IPC(主分类):B07B9/00;专利号:ZL2013205983787;申请日:20130926;授权公告日:20140514;终止日期:
2014-05-14
授权
状态信息
授权
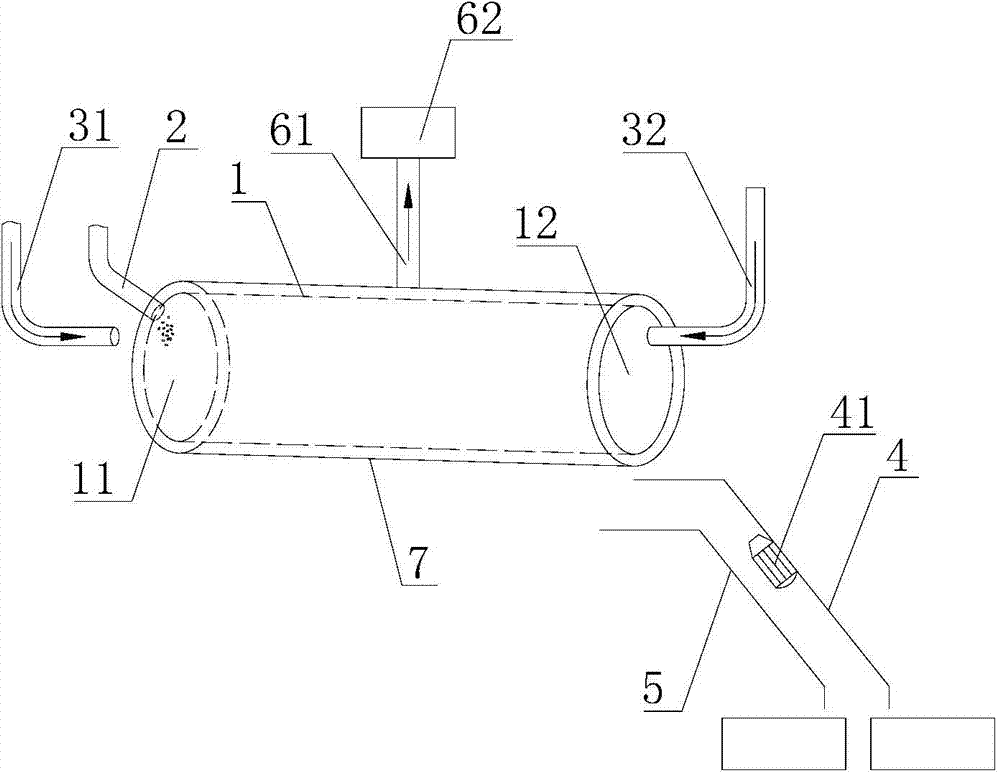
摘要
本实用新型提出了一种芝麻降温除杂装置,用以解决现有技术中在对焙炒后的芝麻进行降温、除杂过程中出现的除杂不彻底、容易破坏芝麻结构的问题。该芝麻降温除杂装置包括转筛、第一风管、排杂筛和芝麻收集槽,转筛呈圆筒状并水平转动设置,其一端为芝麻进口,另一端为芝麻出口,芝麻进口高于芝麻出口,转筛的侧壁上开有小于芝麻粒径的除杂孔;第一风管设置于芝麻进口处,用于向转筛内吹风对芝麻进行降温;排杂筛倾斜设置于芝麻出口处,排杂筛上开有大于芝麻粒径的除杂孔,排杂筛上设置有震动电机;芝麻收集槽倾斜设置于排杂筛下方。该芝麻降温除杂装置结构简单,使用方便,能够有效地对芝麻进行降温,而且祛除芝麻内所含的杂质,具有很好的实用性。


