授权公布号:CN218468179U
石磨用减速机
有效
申请
2022-09-06
申请公布
1970-01-01
授权
2023-02-10
预估到期
2032-09-06
| 申请号 | CN202222364498.2 |
| 申请日 | 2022-09-06 |
| 授权公布号 | CN218468179U |
| 授权公告日 | 2023-02-10 |
| 分类号 | F16H7/02;F16H57/035;F16H7/08;H02K7/10 |
| 分类 | 工程元件或部件;为产生和保持机器或设备的有效运行的一般措施;一般绝热; |
| 申请人名称 | 瑞福油脂股份有限公司 |
| 申请人地址 | 山东省潍坊市东风西街8999号 |
专利法律状态
2023-02-10
授权
状态信息
授权
摘要
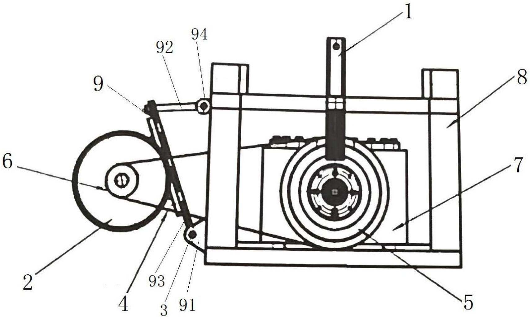
本实用新型公开了石磨用减速机,包括减速机本体,减速机本体外部设置有磨架,磨架的一侧设置有电机调节架,电机调节架安装有电机,电机设置有电机皮带轮,减速机本体设置有减速机皮带轮,电机皮带轮与减速机皮带轮之间通过三角带相连接,所述电机安装于电机调节架上,通过调节电机调节架的角度,调节电机与减速机本体的角度;电机调节架包括三角架、固定轴套、调节轴、支架,三角架固定在磨架的下方,固定轴套固定在磨架的上方,固定轴套和调节轴均设置有通孔,固定轴套和调节轴通过通孔和连接轴进行转动连接,支架上端设置有长方形通孔,调节轴的外表面设置有外螺纹,通过调节轴位于长方形通孔的不同位置上,调节支架与磨架之间的角度。


