授权公布号:CN113233402B
一种鲍鱼罐头生产包装装置及方法
有效
申请
2021-05-18
申请公布
2021-08-10
授权
2022-08-16
预估到期
2041-05-18
| 申请号 | CN202110541403.7 |
| 申请日 | 2021-05-18 |
| 申请公布号 | CN113233402A |
| 申请公布日 | 2021-08-10 |
| 授权公布号 | CN113233402B |
| 授权公告日 | 2022-08-16 |
| 分类号 | B67C3/26;B67C3/22;B67C7/00;B65B57/14;B65B1/30;B65B35/44 |
| 分类 | 开启或封闭瓶子、罐或类似的容器;液体的贮运; |
| 申请人名称 | 方家铺子(莆田)绿色食品有限公司 |
| 申请人地址 | 福建省莆田市涵江区城涵东大道1758号(经营场所:莆田市涵江区梧塘镇溪游村上村224号) |
专利法律状态
2022-08-16
授权
状态信息
授权
2021-08-10
公布
状态信息
公布
摘要
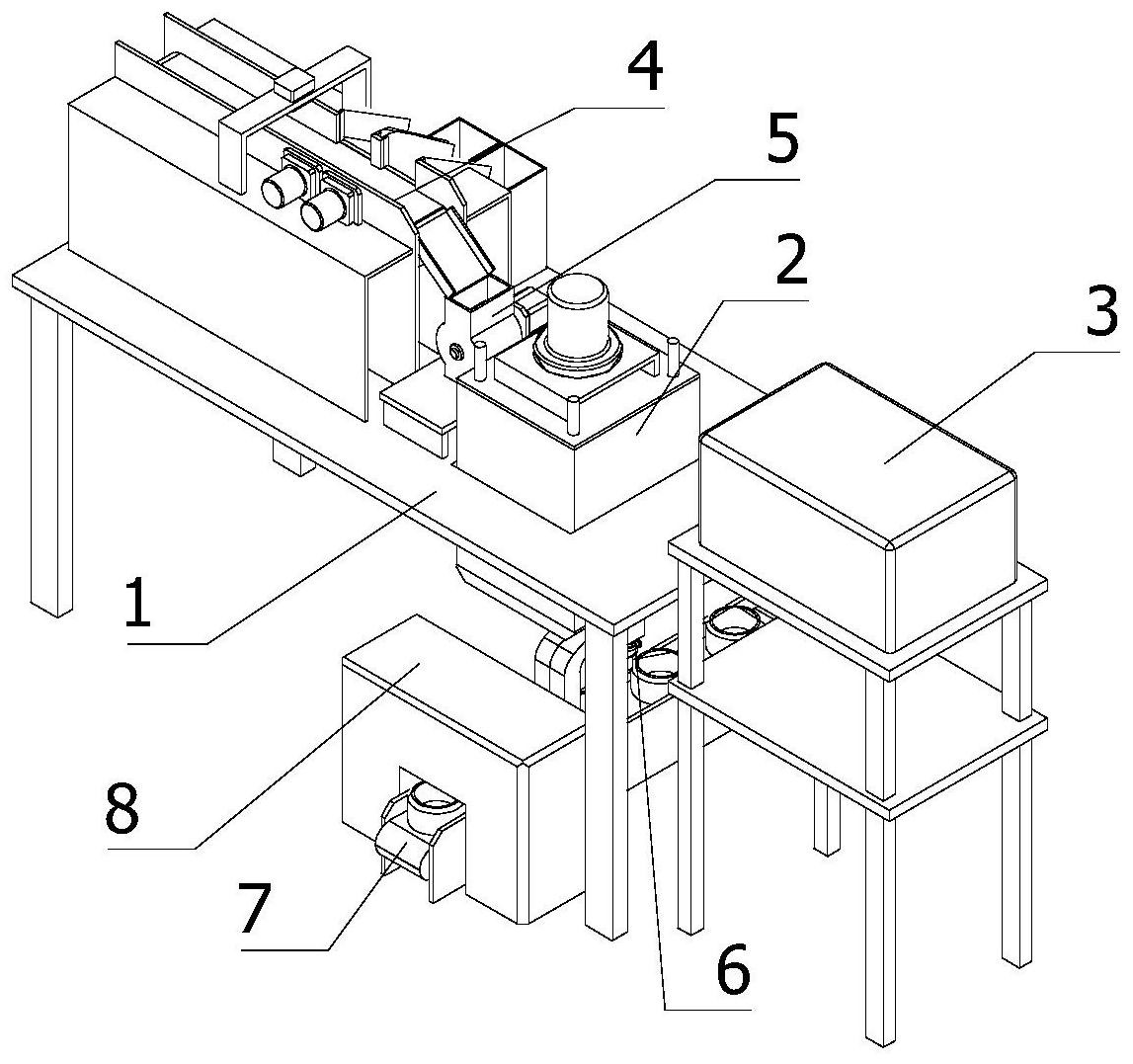
本发明涉及食品灌装技术领域,具体是涉及一种鲍鱼罐头生产包装装置及方法,包括:机架;混合搅拌机构;汤汁上料机构;鲍鱼筛选上料机构;鲍鱼定量上料机构;定量下料机构;下料传送带;罐头封装机;鲍鱼定量上料机构包括有:上料架,竖直安装在机架上,位于混合搅拌机构和鲍鱼筛选上料机构之间,鲍鱼筛选上料机构的输出端位于上料架的正上方,上料架的出料端导入混合搅拌机构内部;间歇上料组件,水平安装在上料架中部;定量下料机构包括有:鲍鱼定量下料组件;汤汁定量下料组件,本发明所示的一种鲍鱼罐头生产包装装置及方法,能够更加高效的实现自动定量的鱼罐头加工操作,混合时保护鲍鱼本体,能够精准分类控制鲍鱼的下料个数和汤汁的下料量。


