授权公布号:CN208403127U
一种玉米粳煮料锅
有效
申请
2017-12-05
申请公布
1970-01-01
授权
2019-01-22
预估到期
2027-12-05
| 申请号 | CN201721678038.X |
| 申请日 | 2017-12-05 |
| 授权公布号 | CN208403127U |
| 授权公告日 | 2019-01-22 |
| 分类号 | A23L5/10 |
| 分类 | 其他类不包含的食品或食料;及其处理; |
| 申请人名称 | 广东佳隆食品股份有限公司 |
| 申请人地址 | 广东省揭阳市普宁市池尾工业区上寮园256幢0138号 |
专利法律状态
2019-01-22
授权
状态信息
授权
摘要
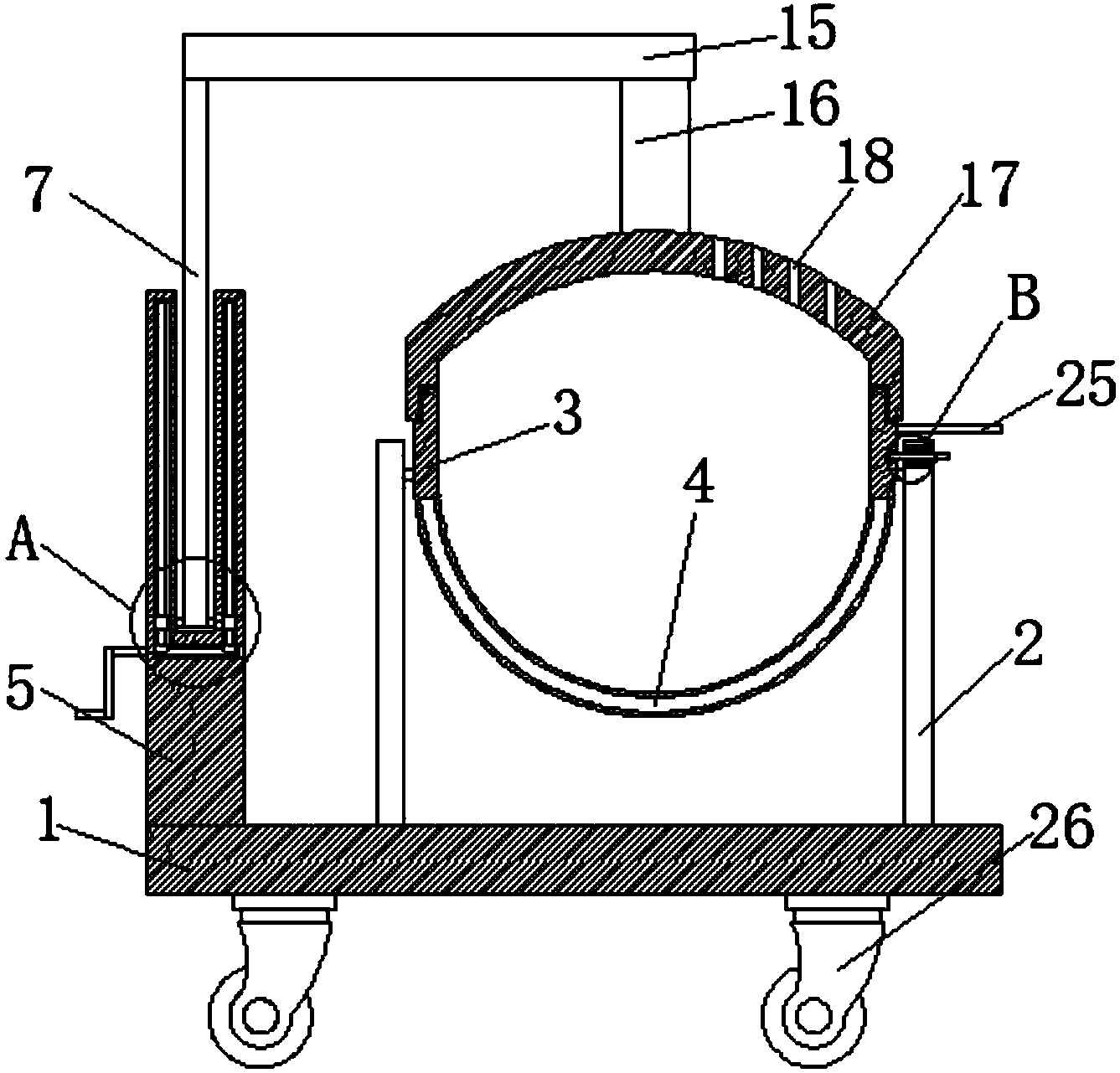
本实用新型公开了一种玉米粳煮料锅,包括底座,所述底座的上端对称设有支撑杆,两个所述支撑杆之间转动连接有煮料锅,其中一个所述支撑杆还通过固定装置与煮料锅固定连接,所述煮料锅中设有加热腔,所述底座的上端还设有连接块,且连接块靠近底座的上侧侧壁边缘处设置,所述连接块中设有开口向上的凹槽,且凹槽中插设有升降杆,所述连接块中设有横向设置的第一转槽,且第一转槽中转动连接有第一螺纹杆,所述连接块中还对称设有竖直设置的第二转槽,且第二转槽中转动连接有第二螺纹杆,所述第二螺纹杆通过斜齿轮与第一螺纹杆传动连接。本实用新型操作简单,煮料锅用的锅盖设置为可升降式,增加了装置的安全性能。


