授权公布号:CN215002554U
流化床干燥机
有效
申请
2021-04-29
申请公布
1970-01-01
授权
2021-12-03
预估到期
2031-04-29
| 申请号 | CN202120921044.3 |
| 申请日 | 2021-04-29 |
| 授权公布号 | CN215002554U |
| 授权公告日 | 2021-12-03 |
| 分类号 | F26B3/08;F26B21/00;F26B25/08 |
| 分类 | 干燥; |
| 申请人名称 | 黑龙江成福食品集团有限公司 |
| 申请人地址 | 黑龙江省绥化市肇东市昌五镇经济开发区 |
专利法律状态
2021-12-03
授权
状态信息
授权
摘要
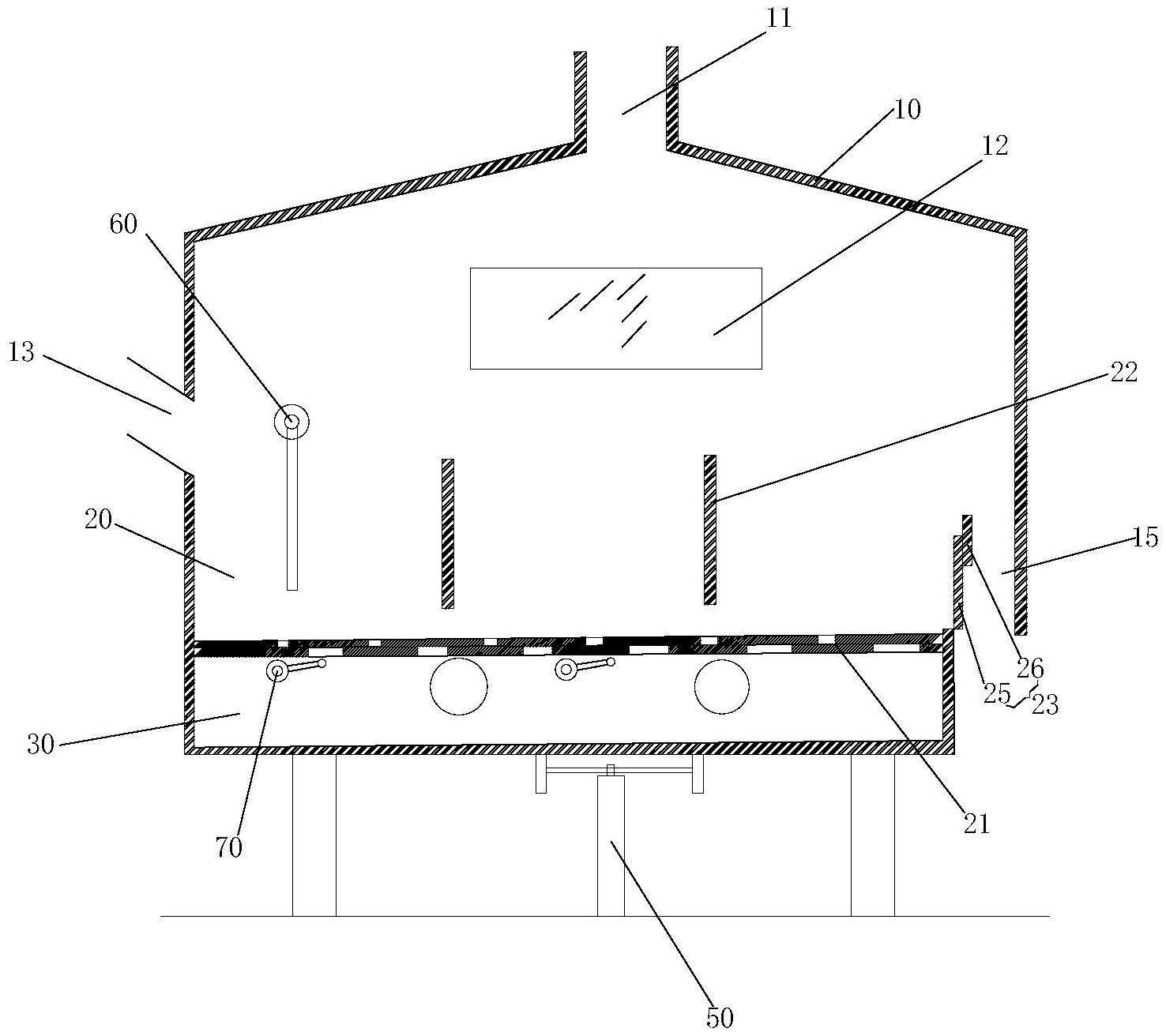
本实用新型提出了一种流化床干燥机,涉及干燥设备,其包括箱体、设于该箱体内的流化床及设于该流化床下方的气流室,所述箱体的侧壁上设有检查窗,该流化床对应设于箱体的底端位置,并相对于箱体可分离设置,所述气流室固定于流化床的底端,该流化床干燥机还包括设于气流室下方的升降装置,所述升降装置可带动气流室及流化床相对于箱体上下移动。该流化床干燥机通过升降装置带动气流室与流化床一起相对于箱体上下移动,从而实现流化床及气流室的清洗、检查及维护,操作简单快捷。


