授权公布号:CN213355565U
一种鲜花包装盒
有效
申请
2020-09-28
申请公布
1970-01-01
授权
2021-06-04
预估到期
2030-09-28
| 申请号 | CN202022162680.0 |
| 申请日 | 2020-09-28 |
| 授权公布号 | CN213355565U |
| 授权公告日 | 2021-06-04 |
| 分类号 | B65D85/50;B65D25/10;B65D25/28 |
| 分类 | 输送;包装;贮存;搬运薄的或细丝状材料; |
| 申请人名称 | 云南锦苑花卉产业股份有限公司 |
| 申请人地址 | 云南省昆明市龙头街严家山 |
专利法律状态
2021-06-04
授权
状态信息
授权
摘要
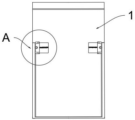
本实用新型提供一种鲜花包装盒,包括盒体,所述盒体的内部设有放置腔,所述放置腔的一侧设有开口,所述盒体的一侧铰接有用于封堵开口的箱门,所述放置腔内侧壁连接有固定夹,所述盒体的外侧活动连接有提手;盒体相对的两侧均设有第一凹槽,盒体的底部设有第二凹槽,第二凹槽的两端均与盒体两侧的第二凹槽相通,所述第一凹槽和第二凹槽共同形成的通道的大小与提手适配;所述提手包括横杆和两个伸缩杆,两个所述伸缩杆的一端分别与横杆的两端铰接,所述连接杆远离滑球的一端与伸缩杆的另一端连接,解决提手凸出的设置在包装盒的两侧,影响包装盒的美观的问题。


