授权公布号:CN219421803U
一种种植用可变滴灌间距的滴灌装置
有效
申请
2023-06-19
申请公布
1970-01-01
授权
2023-07-28
预估到期
2033-06-19
| 申请号 | CN202321552026.8 |
| 申请日 | 2023-06-19 |
| 授权公布号 | CN219421803U |
| 授权公告日 | 2023-07-28 |
| 分类号 | A01G25/02 |
| 分类 | 农业;林业;畜牧业;狩猎;诱捕;捕鱼; |
| 申请人名称 | 云南英茂花卉产业有限公司 |
| 申请人地址 | 云南省昆明市滇中新区大板桥街道办事处白汉场社区居民委员会白汉场居民小组大鱼塘 |
专利法律状态
2023-07-28
授权
状态信息
授权
摘要
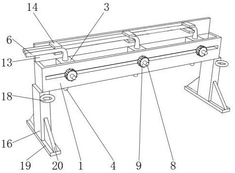
本实用新型涉及滴灌装置技术领域,公开了一种种植用可变滴灌间距的滴灌装置,包括支架,所述支架的底部固定连接有支板,所述支架的中部滑动连接有滑块,所述滑块的底部固定连接在滴灌头的顶部,所述滑块的顶部固定连接在插管的底部,所述插管的外侧设置有进水管,所述支架前侧的中部设置有卡槽,所述卡槽的内壁设置有螺纹杆,所述螺纹杆的一端固定连接在滑块前侧的中部,所述螺纹杆另一端的外侧螺纹连接有压板。本实用新型中,通过旋转压板使其远离支架,此时可通过拨动螺纹杆带动滑块在支架的内部滑动,从而可调节滑块和滴灌头在支架上的位置,进而可调节相邻两个滴灌头的间距,提高实用性。


