授权公布号:CN108751519B
利用高泥沙水源的景观灌溉用水防堵系统及其构建方法
有效
申请
2018-08-01
申请公布
2018-11-06
授权
2024-03-05
预估到期
2038-08-01
| 申请号 | CN201810866011.6 |
| 申请日 | 2018-08-01 |
| 申请公布号 | CN108751519A |
| 申请公布日 | 2018-11-06 |
| 授权公布号 | CN108751519B |
| 授权公告日 | 2024-03-05 |
| 分类号 | C02F9/00;A01G25/00;C02F1/52;B01D36/04 |
| 分类 | 水、废水、污水或污泥的处理; |
| 申请人名称 | 北京东方园林环境股份有限公司 |
| 申请人地址 | 北京市朝阳区酒仙桥北路甲10号院104号楼 |
专利法律状态
2024-03-05
授权
状态信息
授权
2018-11-30
实质审查的生效
状态信息
实质审查的生效;IPC(主分类):C02F9/04;申请日:20180801
2018-11-06
公布
状态信息
公布
摘要
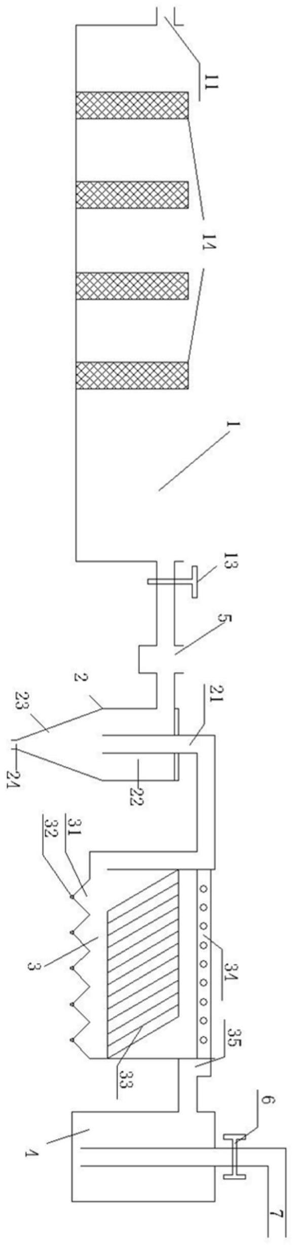
本发明涉及一种利用高泥沙水源的景观灌溉用水防堵系统及其构建方法,包括沿水流方向依次连通设置的初沉蓄水池、絮凝分离池、斜管沉降池、配水池,还包括设置在灌溉主管分入支管处的拦沙室,所述初沉蓄水池与絮凝分离池之间设有投加絮凝剂的投料口,所述絮凝分离池整体为陀螺形,所述斜管沉降池为上向流斜管沉降池,水流在经过所述斜管沉降池后进入配水池,再由扬水泵输送到灌溉主管。本发明通过在水源进入灌溉管道前的水沙分离系统和灌溉管道中的拦沙室,分级拦截河水水源中的各类垃圾和不同粒径的泥沙;使进入灌溉管道支管和喷头中的泥沙含量大大降低。


