授权公布号:CN217986085U
一种防干旱山地园林绿化结构
有效
申请
2022-05-11
申请公布
1970-01-01
授权
2022-12-09
预估到期
2032-05-11
| 申请号 | CN202221127163.2 |
| 申请日 | 2022-05-11 |
| 授权公布号 | CN217986085U |
| 授权公告日 | 2022-12-09 |
| 分类号 | A01G9/02;A01G27/00;E03B3/02;B05B15/68 |
| 分类 | 农业;林业;畜牧业;狩猎;诱捕;捕鱼; |
| 申请人名称 | 北京花乡花木集团有限公司 |
| 申请人地址 | 北京市丰台区草桥东路甲1号 |
专利法律状态
2022-12-09
授权
状态信息
授权
摘要
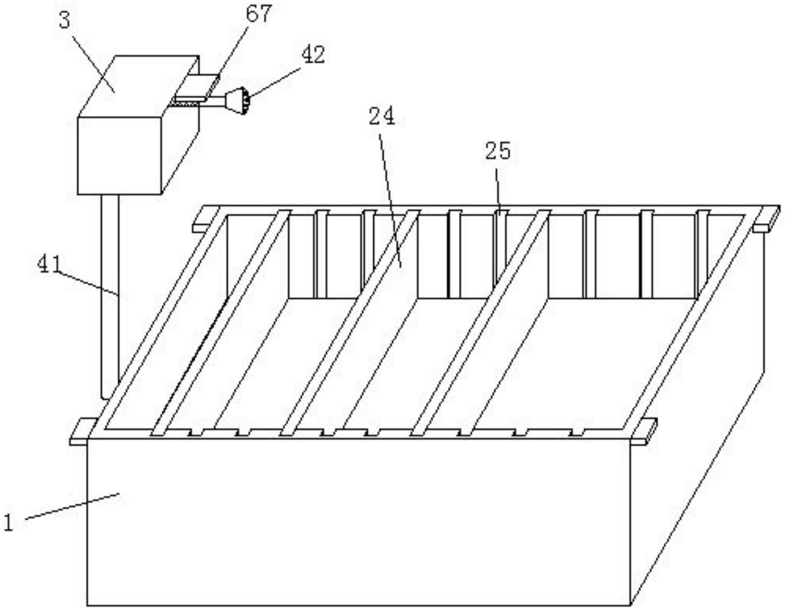
本实用新型属于园林绿化结构技术领域,尤其是一种防干旱山地园林绿化结构,针对现有的园林没有防干旱功能,不能将雨水存储,在植被绿化干旱时进行使用,使用效果差的问题,现提出如下方案,其包括种植盒,种植盒内设置有过滤分割机构,种植盒的外侧设置有保护壳,保护壳内设置有水泵浇灌机构,保护壳上设置有往复机构,往复机构与水泵浇灌机构相连,保护壳上设置有稳定机构,所述过滤分割机构包括隔板、过滤网和分割板,隔板安装在种植盒内,隔板上开设有多个水孔,过滤网位于隔板的顶部,种植盒的两侧内壁上均开设有多个缺口。本实用新型可以调节种植空间,可以对雨水进行收集,可以在干旱时期进行浇灌,且浇灌均匀。


