授权公布号:CN215906659U
园林绿化枝叶环保处理装置
有效
申请
2021-08-19
申请公布
1970-01-01
授权
2022-02-25
预估到期
2031-08-19
| 申请号 | CN202121948040.0 |
| 申请日 | 2021-08-19 |
| 授权公布号 | CN215906659U |
| 授权公告日 | 2022-02-25 |
| 分类号 | E01H1/08 |
| 分类 | 道路、铁路或桥梁的建筑; |
| 申请人名称 | 北京花乡花木集团有限公司 |
| 申请人地址 | 北京市丰台区草桥欣园四区22号 |
专利法律状态
2022-02-25
授权
状态信息
授权
摘要
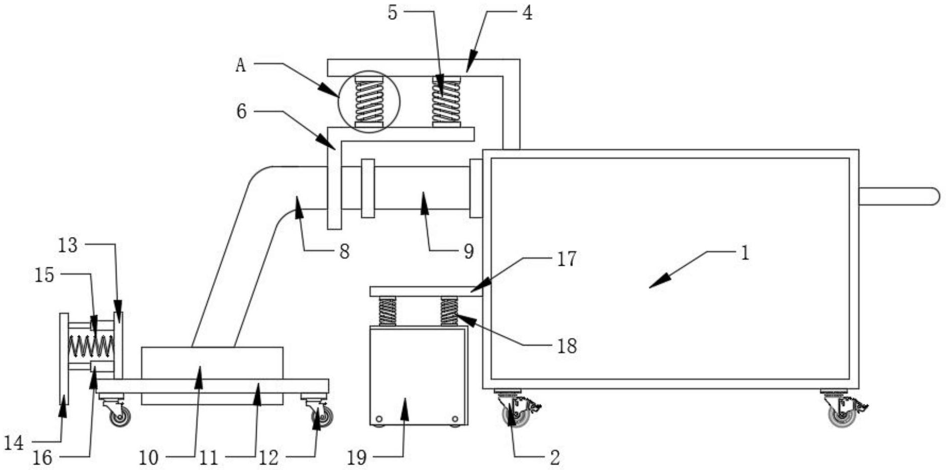
本实用新型公开了园林绿化枝叶环保处理装置,包括回收箱、活动座结构、枝叶收集结构、辅助移动结构、防撞保护结构以及辅助集中结构,所述回收箱的底部设置有多个带有刹车装置的第一万向轮,所述回收箱的一侧设置有推把,所述回收箱的正面设置有工作门,所述活动座结构安装于回收箱的顶部靠近于其一侧处,所述枝叶收集结构安装于活动座结构处,且所述枝叶收集结构与回收箱的内部连通连接,所述辅助移动结构安装于枝叶收集结构处,所述防撞保护结构安装于辅助移动结构处。本实用新型在枝叶进行回收处理时,吸尘机构不易出现刮蹭和碰撞损坏,且便于对未吸入的较大枝叶进行集中推动收集,以便于后续工作人员集中处理,整体实用性较高。


