授权公布号:CN215898543U
一种园林绿化工程中树木移植装置
有效
申请
2021-08-19
申请公布
1970-01-01
授权
2022-02-25
预估到期
2031-08-19
| 申请号 | CN202121948031.1 |
| 申请日 | 2021-08-19 |
| 授权公布号 | CN215898543U |
| 授权公告日 | 2022-02-25 |
| 分类号 | A01G23/04 |
| 分类 | 农业;林业;畜牧业;狩猎;诱捕;捕鱼; |
| 申请人名称 | 北京花乡花木集团有限公司 |
| 申请人地址 | 北京市丰台区草桥欣园四区22号 |
专利法律状态
2022-02-25
授权
状态信息
授权
摘要
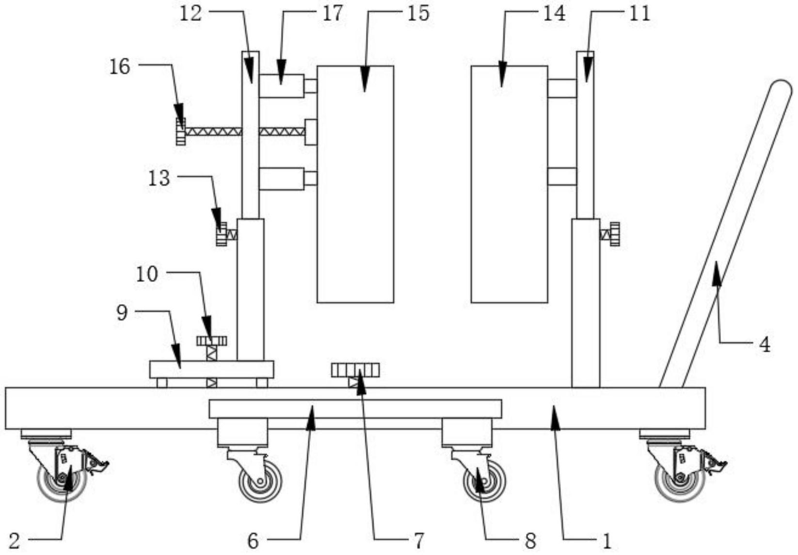
本实用新型公开了一种园林绿化工程中树木移植装置,包括基座、辅助支撑结构、移动座结构、可调节安装座结构以及夹紧结构,所述基座的底部设置有多个带有刹车装置的第一万向轮,所述基座的前后两侧处均开设有安装槽,所述辅助支撑结构安装于基座前后两侧的安装槽处,所述基座的上端表面靠近于其一侧边缘处斜角度设置有握把,所述基座的上端表面横向开设有两道滑槽,所述移动座结构安装于两道滑槽处,所述可调节安装座结构安装于基座的上端表面以及移动座结构处,所述夹紧结构安装于可调节安装座结构处。本实用新型便于对不同直径和不同高度的树木进行夹紧固定处理,且不易出现倾翻情况,整体的实用性较高,降低了安全隐患。


