授权公布号:CN210968421U
一种玉石夹具工装
有效
申请
2019-07-24
申请公布
1970-01-01
授权
2020-07-10
预估到期
2029-07-24
| 申请号 | CN201921172072.9 |
| 申请日 | 2019-07-24 |
| 授权公布号 | CN210968421U |
| 授权公告日 | 2020-07-10 |
| 分类号 | B24B41/06;B28D7/04 |
| 分类 | 磨削;抛光; |
| 申请人名称 | 上海张铁军翡翠股份有限公司 |
| 申请人地址 | 上海市青浦区五厍浜路203号8幢101室 |
专利法律状态
2020-07-10
授权
状态信息
授权
摘要
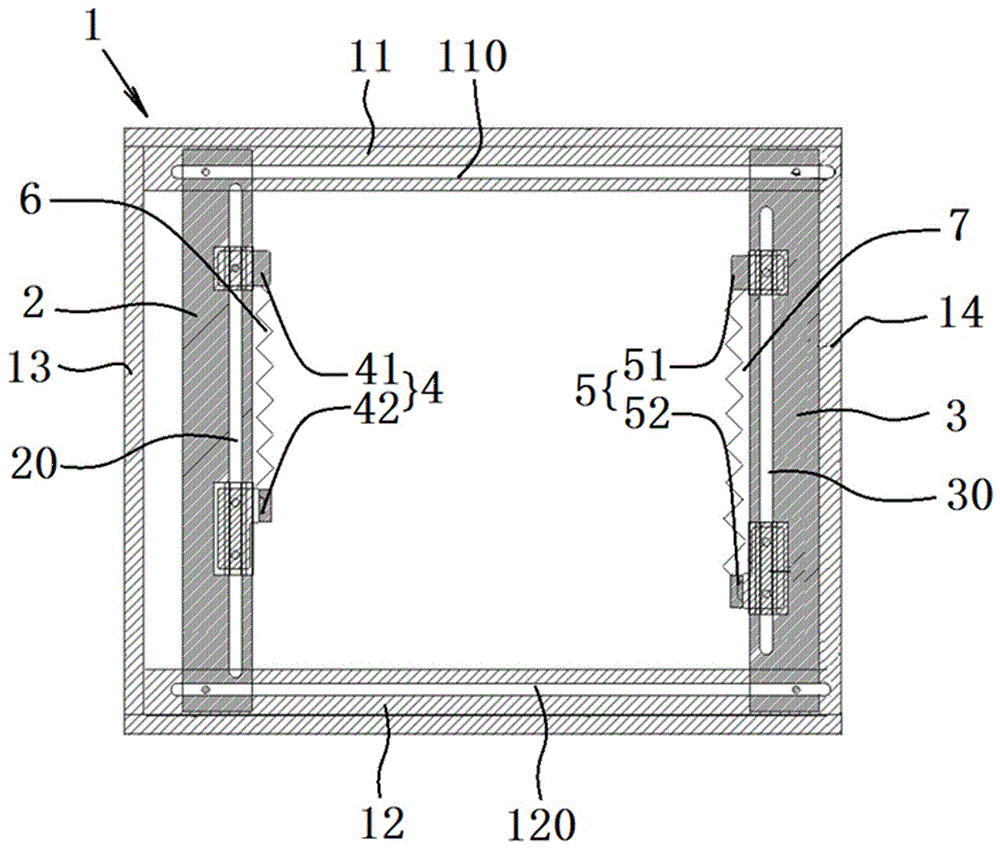
本实用新型公开一种玉石夹具工装,包含有,框架本体,其具有框架前边及框架后边,所述框架前边上形成有沿左右方向延伸的第一滑槽,所述框架后边上形成有沿左右方向延伸的第二滑槽;左侧定位滑板,其布置于所述第一滑槽与所述第二滑槽间,所述左侧定位滑板上形成有沿前后方向延伸的第三滑槽;右侧定位滑板,其布置于所述第一滑槽与所述第二滑槽间,所述右侧定位滑板上形成有沿前后方向延伸的第四滑槽;左侧定位滑块组件,其布置于所述第三滑槽上;以及,右侧定位滑块组件,其布置于所述第四滑槽上。本实用新型的有益效果在于:可适用不同规格的玉石坯料的夹装固定。


