授权公布号:CN213892311U
清障车的备胎升降装置
有效
申请
2020-09-25
申请公布
1970-01-01
授权
2021-08-06
预估到期
2030-09-25
| 申请号 | CN202022149227.6 |
| 申请日 | 2020-09-25 |
| 授权公布号 | CN213892311U |
| 授权公告日 | 2021-08-06 |
| 分类号 | B60P3/12;B62D43/00 |
| 分类 | 一般车辆; |
| 申请人名称 | 广东粤海汽车有限公司 |
| 申请人地址 | 广东省佛山市南海区九江镇物流产业园 |
专利法律状态
2021-08-06
授权
状态信息
授权
摘要
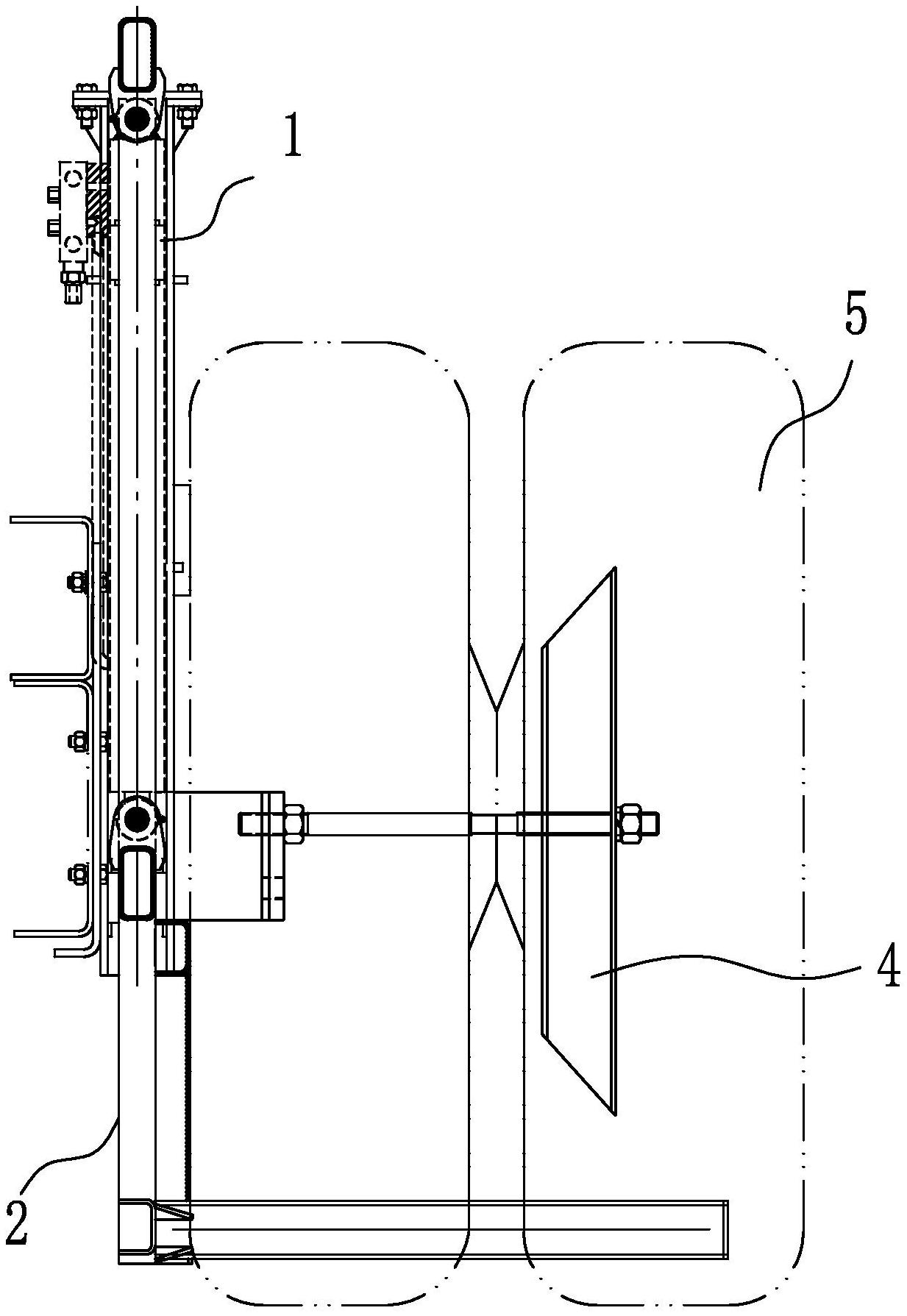
本实用新型公开一种清障车的备胎升降装置,包括有固定在副车架的导轨座、上下滑动安装在导轨座的托轮架、驱动托轮架升降的油缸以及与托轮架螺纹连接的轮胎压板。本实用新型的清障车用的公交车备胎升降装置,当被救援公交车只是轮胎损坏时,不需将其拖回修理厂,只要在现场换上轮胎就可恢复使用。提高公交车救援工作效率,还节省了很多资源。


