授权公布号:CN218343352U
可旋转臂架的清障车
有效
申请
2022-10-13
申请公布
1970-01-01
授权
2023-01-20
预估到期
2032-10-13
| 申请号 | CN202222706299.5 |
| 申请日 | 2022-10-13 |
| 授权公布号 | CN218343352U |
| 授权公告日 | 2023-01-20 |
| 分类号 | B60P3/12;B60P3/07 |
| 分类 | 一般车辆; |
| 申请人名称 | 广东粤海汽车有限公司 |
| 申请人地址 | 广东省佛山市南海区九江镇物流产业园 |
专利法律状态
2023-01-20
授权
状态信息
授权
摘要
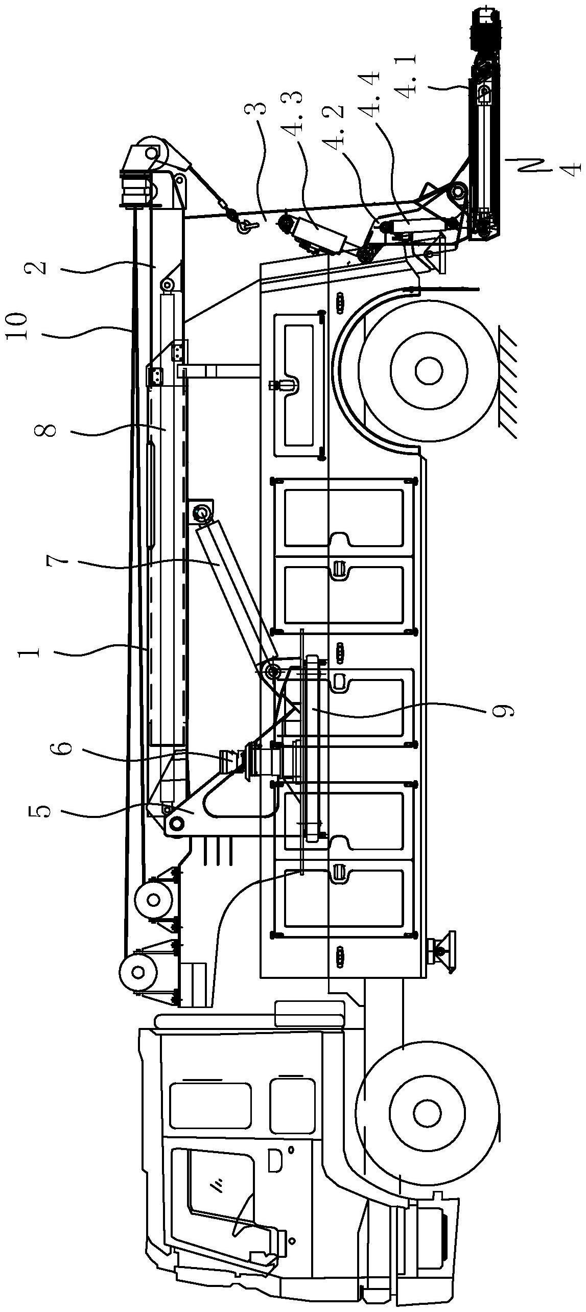
本实用新型公开一种可旋转臂架的清障车,该清障车的臂架包括有主臂、滑动安装在主臂的伸缩臂、固定在伸缩臂的伸缩端向下延伸的垂臂以及安装在垂臂的延伸端用以托举故障车的托臂机构,主臂铰接在一旋转座上,旋转座上安装驱动其转动的驱动装置,旋转座与主臂之间铰接有变幅油缸。臂架可横向摆动任意角度,安装在臂架上的托臂机构可托着任意朝向的事故车摆正其车身朝向,将事故车的车身摆直在清障车的车身后,实现对道路上斜躺或横躺的事故车快速直接的托牵离开现场,并且对于有限高的作业现场如隧道、高架桥底等都能进行作业,可以大大地减少清障救援时间,提高清障救援速度,减少清障救援工作难度,提高作业安全度。


