授权公布号:CN215876492U
过滤装置
有效
申请
2021-08-02
申请公布
1970-01-01
授权
2022-02-22
预估到期
2031-08-02
| 申请号 | CN202121790544.4 |
| 申请日 | 2021-08-02 |
| 授权公布号 | CN215876492U |
| 授权公告日 | 2022-02-22 |
| 分类号 | B01D33/04 |
| 分类 | 一般的物理或化学的方法或装置; |
| 申请人名称 | 中国宣纸股份有限公司 |
| 申请人地址 | 安徽省宣城市泾县乌溪 |
专利法律状态
2022-02-22
授权
状态信息
授权
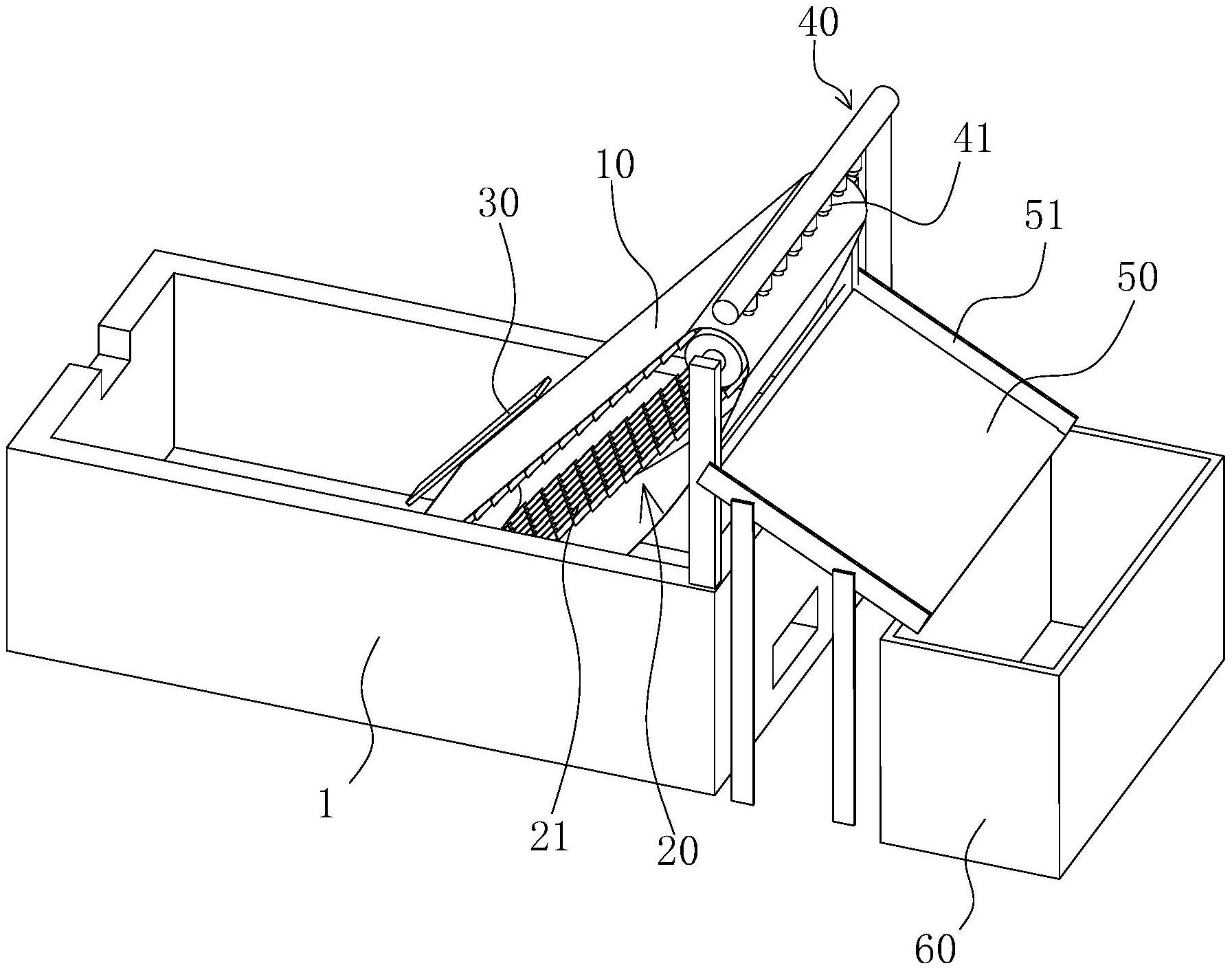
摘要
本实用新型提供一种过滤装置,软质的过滤网宽松式环绕在皮带条构成的皮带传动机构的回转面上,皮带条沿驱动辊、从动辊的长度方向间隔布置。上述方案中通过将过滤网中的一段放入盛放溶液的过滤池中使一侧过滤网面向水流方向,再通过皮带带动过滤网转动以将积累了一定碎皮纤维处的过滤网从溶液内带出,便于对过滤网进行进一步清理。同时由于过滤网的宽松式环绕,纱布制成的过滤网不会受到过大的拉伸力,其网孔便能保持原有的轮廓形状而不是拉伸后的缝隙孔。


