授权公布号:CN214168570U
蒸锅
有效
申请
2020-11-30
申请公布
1970-01-01
授权
2021-09-10
预估到期
2030-11-30
| 申请号 | CN202022838995.2 |
| 申请日 | 2020-11-30 |
| 授权公布号 | CN214168570U |
| 授权公告日 | 2021-09-10 |
| 分类号 | D21C7/10;D21C7/08 |
| 分类 | 造纸;纤维素的生产; |
| 申请人名称 | 中国宣纸股份有限公司 |
| 申请人地址 | 安徽省宣城市泾县乌溪 |
专利法律状态
2021-09-10
授权
状态信息
授权
摘要
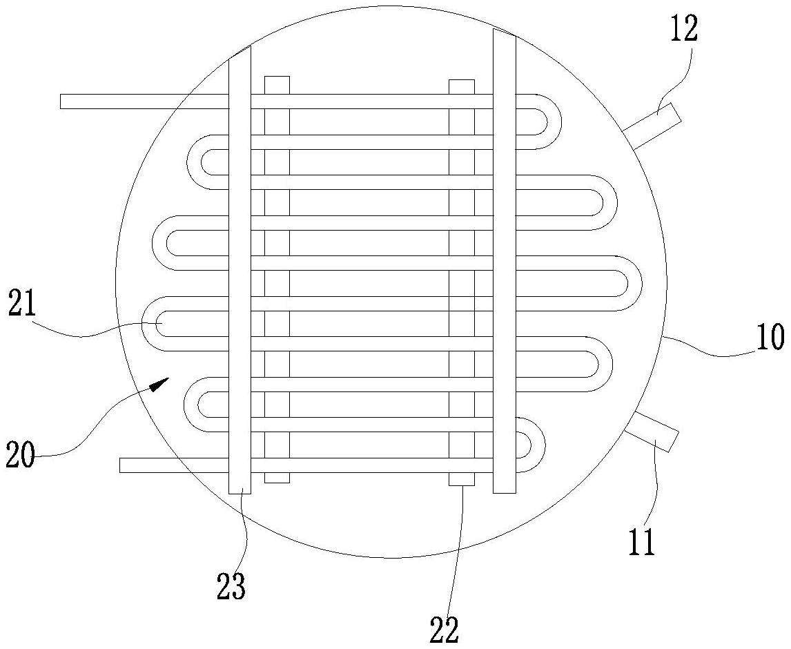
本实用新型的目的是提供一种能够精准控制液比且蒸煮效果好的蒸锅,包括锅体,锅底位置处设置有蒸汽加热单元,蒸汽加热单元的进汽端和出汽端均凸伸至锅体外部,蒸汽加热单元与锅体的水热交换。上述方案中,蒸汽加热单元只是作为热源与锅体内的水热交换,锅体内的水被加热后对锅体的檀皮、狼毒草等制浆原料进行蒸煮,在整个过程中,蒸汽不会进入锅体内,不会影响锅内的液比,确保蒸煮质量稳定。


