授权公布号:CN215877122U
高纯度柱层析硅胶制备装置
有效
申请
2021-04-01
申请公布
1970-01-01
授权
2022-02-22
预估到期
2031-04-01
| 申请号 | CN202120671016.0 |
| 申请日 | 2021-04-01 |
| 授权公布号 | CN215877122U |
| 授权公告日 | 2022-02-22 |
| 分类号 | B01F27/90;B01F35/12;C01B33/14 |
| 分类 | 一般的物理或化学的方法或装置; |
| 申请人名称 | 威海市明珠硅胶有限公司 |
| 申请人地址 | 山东省威海市乳山市青山北路240号 |
专利法律状态
2022-02-22
授权
状态信息
授权
摘要
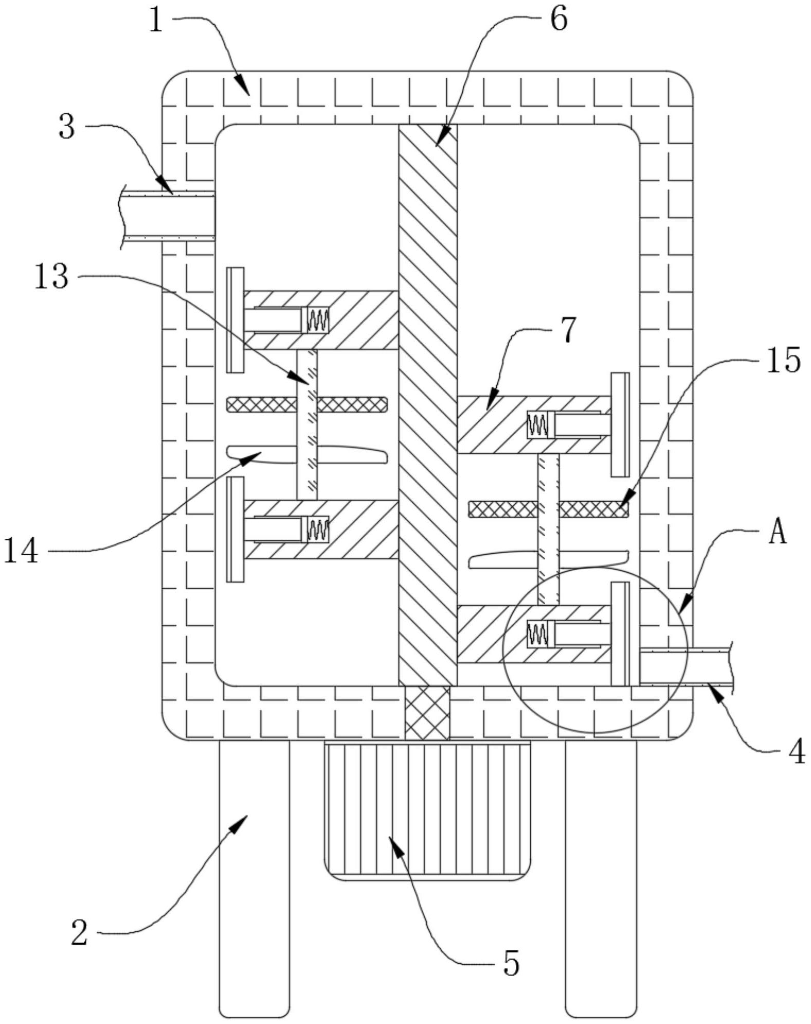
本实用新型公开了高纯度柱层析硅胶制备装置,包括搅拌箱,所述搅拌箱的底部固定有多个支撑柱,所述搅拌箱的一端侧壁插设有进料管,所述搅拌箱的另一端侧壁贯穿插设有出料管,所述搅拌箱底部焊接有电机,所述电机的主轴贯穿搅拌箱的内底部并焊接有转轴,所述转轴与搅拌箱的内顶部通过轴承转动连接,所述转轴的周向侧壁固定有多个搅拌块。通过伸缩装置,能够实现对弧形推块的最大搅拌区域的移动,能够有效增加搅拌装置适用性的同时也能够使得搅拌效果更好,同时可根据电机转速大小,实现对移动距离的控制,通过设置橡胶材料制成的形变层,能够便于在电机高速转动下对搅拌箱内壁附着物的清理,实现对搅拌箱内壁的快速清洗,方便后续使用。


