授权公布号:CN216459538U
高稳定性块状水晶猫砂快速上色装置
有效
申请
2021-04-13
申请公布
1970-01-01
授权
2022-05-10
预估到期
2031-04-13
| 申请号 | CN202120744873.9 |
| 申请日 | 2021-04-13 |
| 授权公布号 | CN216459538U |
| 授权公告日 | 2022-05-10 |
| 分类号 | B05B13/02 |
| 分类 | 一般喷射或雾化;对表面涂覆液体或其他流体的一般方法〔2〕; |
| 申请人名称 | 威海市明珠硅胶有限公司 |
| 申请人地址 | 山东省威海市乳山市青山北路240号 |
专利法律状态
2022-05-10
授权
状态信息
授权
摘要
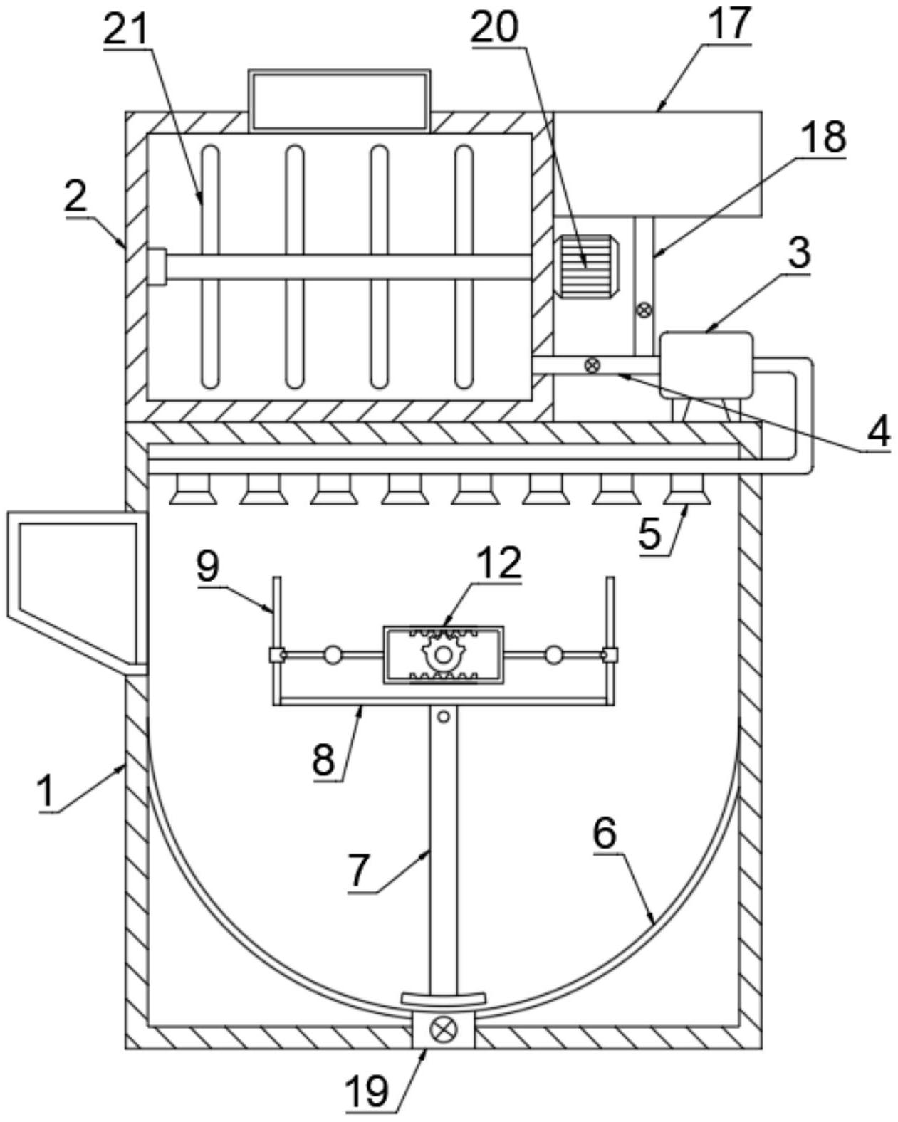
本实用新型公开了高稳定性块状水晶猫砂快速上色装置,包括上色箱,所述上色箱的上侧壁固定连接有颜料箱,所述上色箱的上侧壁固定连接有泵机,所述泵机的输入口与颜料箱之间共同连接有导管,所述导管内设有阀门一,所述泵机的输出口连接有贯穿上色箱外壁的喷料管,所述上色箱内固定连接有弧形板,所述弧形板与上色箱的下侧壁之间连通有出料口,所述出料口处设有阀门。本实用新型炒板对水晶猫砂不断的来回翻动,实现水晶猫砂的快速均匀上色,省时省力,效率较高,同时喷头将颜料均匀的洒向水晶猫砂,进一步提高了水晶猫砂额上色均匀度。


