授权公布号:CN218740645U
一种硅胶猫砂用泡花碱物相分离装置
有效
申请
2022-09-19
申请公布
1970-01-01
授权
2023-03-28
预估到期
2032-09-19
| 申请号 | CN202222471050.0 |
| 申请日 | 2022-09-19 |
| 授权公布号 | CN218740645U |
| 授权公告日 | 2023-03-28 |
| 分类号 | B01D33/11;B01D33/74;B01D53/26 |
| 分类 | 一般的物理或化学的方法或装置; |
| 申请人名称 | 威海市明珠硅胶有限公司 |
| 申请人地址 | 山东省威海市乳山市青山北路240号 |
专利法律状态
2023-03-28
授权
状态信息
授权
摘要
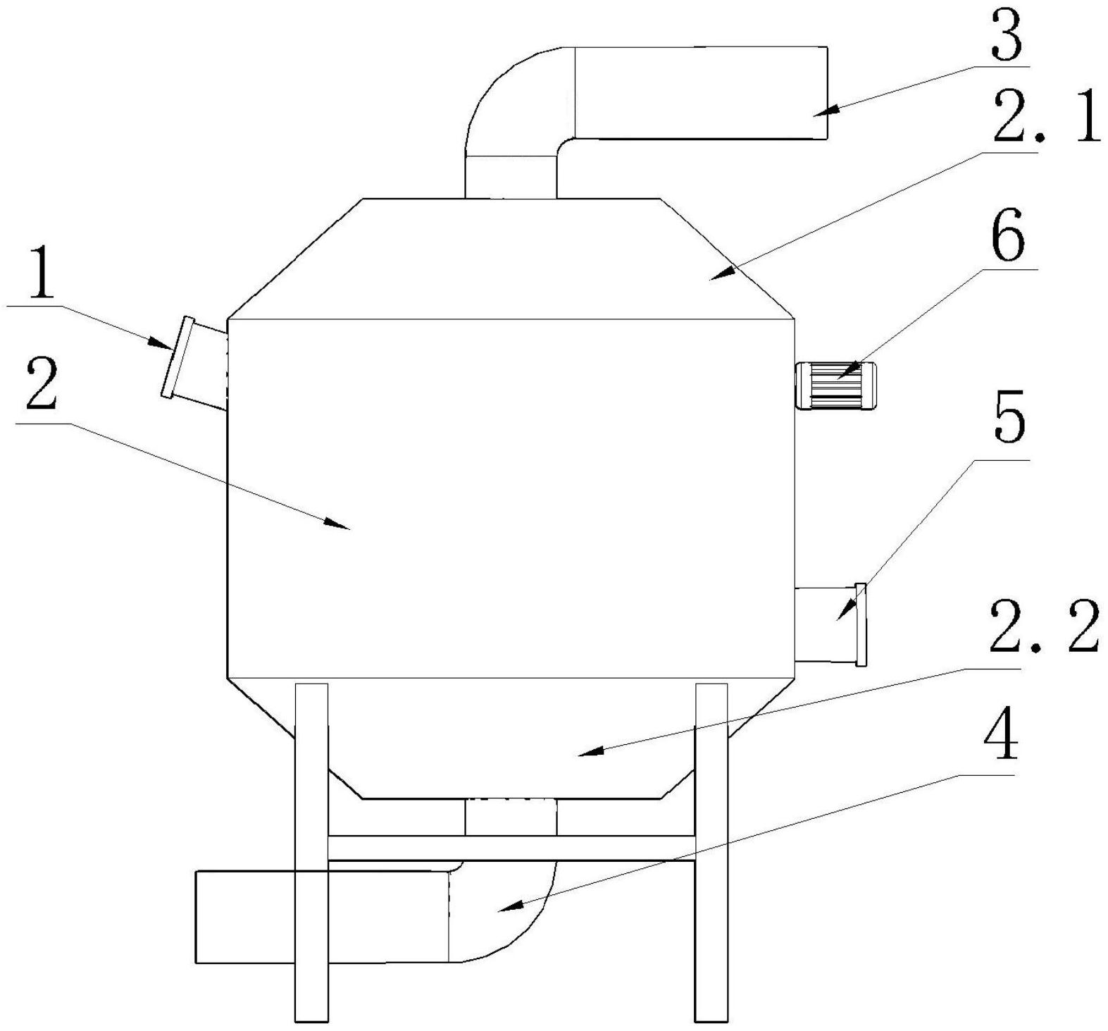
本实用新型公开了一种硅胶猫砂用泡花碱物相分离装置,所述进料管呈倾斜状安装在所述分离箱上,且所述分离箱上还安装有出料管。通过在分离箱上下两端设置锥形结构的液体收集箱与气体收集箱,使进入分离箱内的含有水分的泡花碱在分离箱内的分离筒内进行气体、液体和固体的分离,含有碱性的蒸汽从分离箱上安装的气体收集箱进行气液分离,含有碱性物质的气体从排气管排入气体处理箱内进行收集净化,含有碱性无机物的液体通过分离筒的过滤,进入分离箱底端的液体收集箱内进行收集,然后从液体收集箱底端连接的排液管排出,进入废水回收装置内进行回收处理,而固态的泡花碱则在传动机构的传送过程中从分离箱上安装的排料管排出,提高泡花碱的生产效率。


