授权公布号:CN217614196U
一种羧基丁腈胶乳生产掺混装置
有效
申请
2022-05-13
申请公布
1970-01-01
授权
2022-10-21
预估到期
2032-05-13
| 申请号 | CN202221146940.8 |
| 申请日 | 2022-05-13 |
| 授权公布号 | CN217614196U |
| 授权公告日 | 2022-10-21 |
| 分类号 | B01F27/90;B01F27/191;B01F35/71;B01F23/53 |
| 分类 | 一般的物理或化学的方法或装置; |
| 申请人名称 | 淄博齐翔腾达化工股份有限公司 |
| 申请人地址 | 山东省淄博市临淄区杨坡路206号 |
专利法律状态
2022-10-21
授权
状态信息
授权
摘要
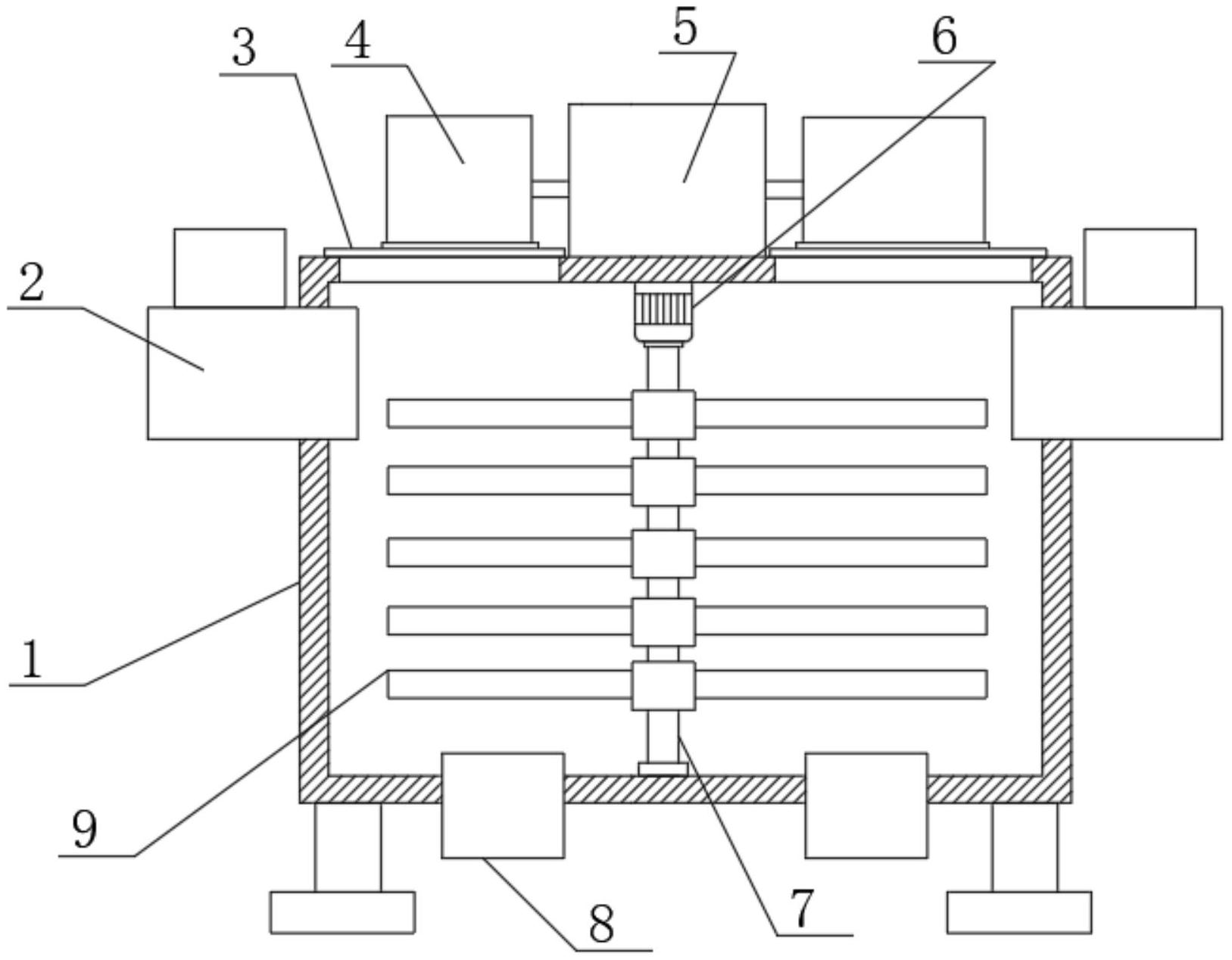
本实用新型公开了一种羧基丁腈胶乳生产掺混装置,包括掺混筒,所述掺混筒的内部设置有混料机构,所述掺混筒的顶部中间固定连接有驱动壳,所述驱动壳的内部中间固定安装有第一驱动机,所述第一驱动机的输出轴固定连接有凸轮,所述驱动壳的内部两侧均滑动连接有振动板,两个所述振动板相对的一侧固定连接有与凸轮相匹配的凸板,所述振动板远离凸轮的一侧固定连接有弹簧,所述振动板远离凸轮一侧的中部固定连接有连接杆,所述掺混筒的顶部两侧均固定连接有粉料箱,所述粉料箱底部远离掺混筒的一侧开设有通口;本实用新型可以使得粉末原料与液体原料能够充分的接触,对掺混筒内的物料混合均匀,提高了生产产品的质量。


