授权公布号:CN210087790U
一种具有防锈功能的螺栓
有效
申请
2019-06-17
申请公布
1970-01-01
授权
2020-02-18
预估到期
2029-06-17
| 申请号 | CN201920904312.3 |
| 申请日 | 2019-06-17 |
| 授权公布号 | CN210087790U |
| 授权公告日 | 2020-02-18 |
| 分类号 | F16B33/00;F16B35/00 |
| 分类 | 工程元件或部件;为产生和保持机器或设备的有效运行的一般措施;一般绝热; |
| 申请人名称 | 淄博强大集团有限公司 |
| 申请人地址 | 山东省淄博市博山区夏家庄路85号 |
专利法律状态
2020-02-18
授权
状态信息
授权
摘要
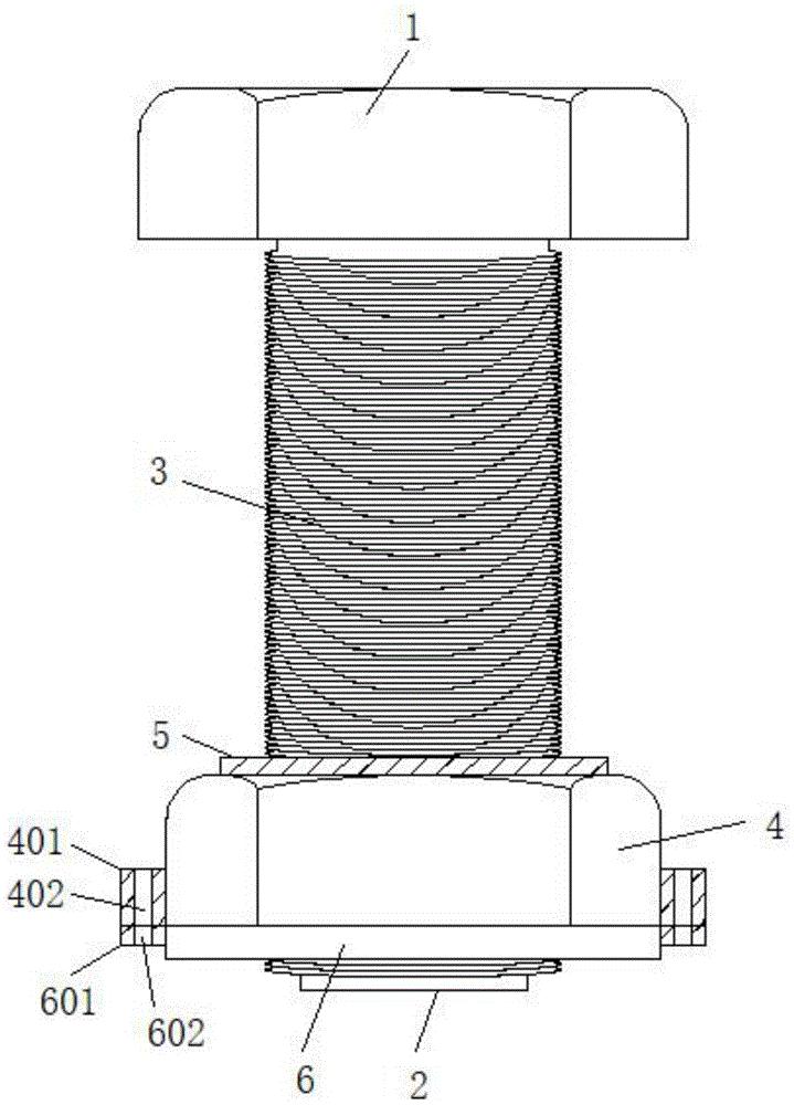
本实用新型公开了一种具有防锈功能的螺栓,包括螺帽、螺栓头固定垫片和螺杆固定垫片,所述螺栓头固定垫片的底部居中位置处设有螺杆固定垫片,且所述螺杆固定垫片与螺栓头固定垫片之间一体成型,所述螺杆固定垫片的外缘上设有第一螺纹部固定垫片,且所述第一螺纹部固定垫片为外螺纹,与所述螺帽固定垫片中的内螺纹螺纹配合安装,所述螺帽固定垫片的两侧焊接有对称分布的两个第一固定边固定垫片,且所述第一固定边固定垫片上开设有第一固定孔固定垫片。本实用新型通过在螺杆中设计一个空腔,空腔中可以倒入防锈油,防锈油就会通过出油孔进入到与螺栓连接的机械部位处,这样可以有效的防止螺栓出现生锈的现象。


