授权公布号:CN210080887U
一种螺母用攻丝工装
有效
申请
2019-06-13
申请公布
1970-01-01
授权
2020-02-18
预估到期
2029-06-13
| 申请号 | CN201920885016.3 |
| 申请日 | 2019-06-13 |
| 授权公布号 | CN210080887U |
| 授权公告日 | 2020-02-18 |
| 分类号 | B23G1/18;B23G1/44;B23Q11/10 |
| 分类 | 机床;不包含在其他类目中的金属加工; |
| 申请人名称 | 淄博强大集团有限公司 |
| 申请人地址 | 山东省淄博市博山区夏家庄路85号 |
专利法律状态
2020-02-18
授权
状态信息
授权
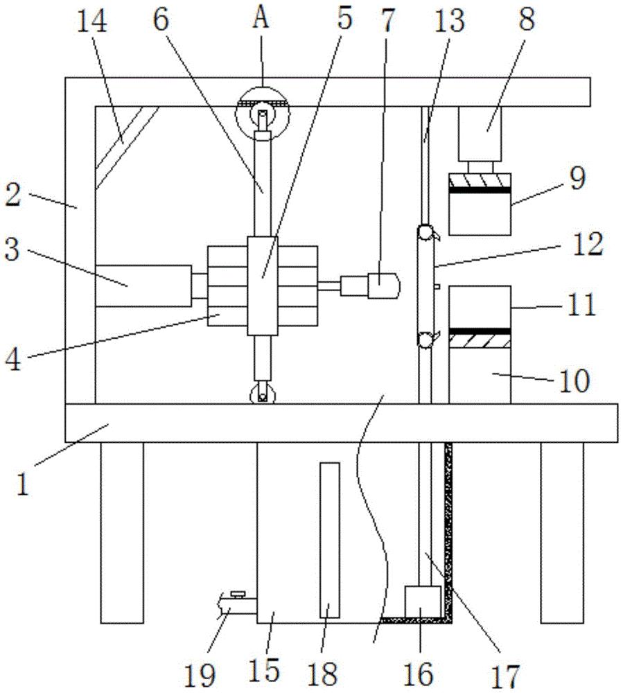
摘要
本实用新型涉及螺母加工技术领域,尤其是一种螺母用攻丝工装,包括工作台,所述工作台上表面一侧上竖直焊接有倒“L”形的支撑板,所述支撑板一侧的工作台和支撑板之间共同竖直焊接有螺母限位机构,所述支撑板靠近螺母限位机构的侧面上水平焊接有第一电动伸缩杆,所述第一电动伸缩杆远离支撑板的一端上水平焊接有电机,所述电机上固定设有支撑机构。本实用新型通过螺母限位机构将待攻丝的螺母固定住,并且在丝锥对螺母进行攻丝时,在水泵的作用下,出水端口排出的冷却水能够对丝锥和螺母进行冷却降温,并且还能够将攻丝产生的废屑及时的冲洗掉,保证丝锥攻丝的效率,延长丝锥的使用寿命。


