授权公布号:CN211218509U
螺栓螺纹部位自动涨粗机
有效
申请
2019-10-25
申请公布
1970-01-01
授权
2020-08-11
预估到期
2029-10-25
| 申请号 | CN201921807523.1 |
| 申请日 | 2019-10-25 |
| 授权公布号 | CN211218509U |
| 授权公告日 | 2020-08-11 |
| 分类号 | B21J5/08 |
| 分类 | 基本上无切削的金属机械加工;金属冲压; |
| 申请人名称 | 淄博强大集团有限公司 |
| 申请人地址 | 山东省淄博市博山区夏家庄路85号 |
专利法律状态
2020-08-11
授权
状态信息
授权
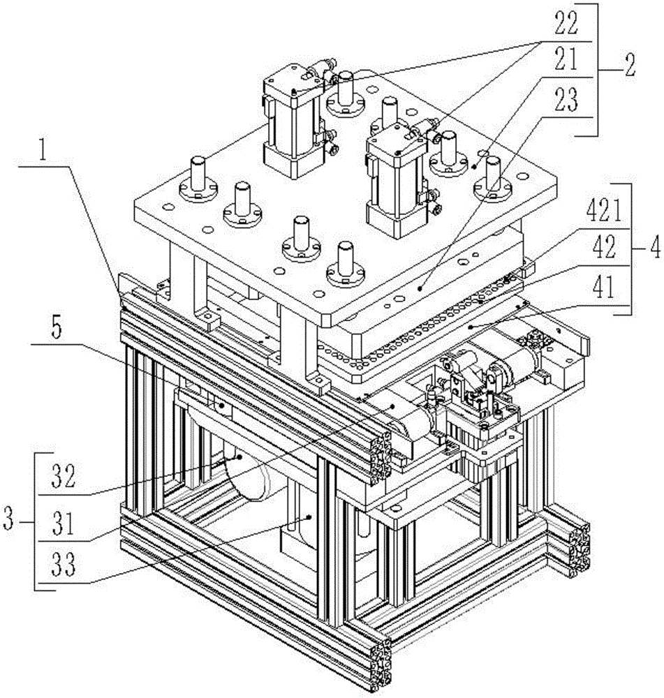
摘要
本实用新型公开了螺栓螺纹部位自动涨粗机,具体涉及自动涨粗机构,包括机架,安装在机架上端挤压机构、安装在机架中部的输送机构,固定输送机构上的定位机构和安装在机架中的识别机构。实际工作时,将待镦粗的螺栓放入定位机构,定位机构由输送机构,进入到挤压机构下部,识别机构将识别所在具体位置,然后挤压机构开始工作,将挤压螺栓镦粗;该装置结构简单,无人操作使用方便,耗电低,成本低,适于推广。


