授权公布号:CN210886126U
螺栓加工热处理余热利用装置
有效
申请
2019-10-25
申请公布
1970-01-01
授权
2020-06-30
预估到期
2029-10-25
| 申请号 | CN201921808339.9 |
| 申请日 | 2019-10-25 |
| 授权公布号 | CN210886126U |
| 授权公告日 | 2020-06-30 |
| 分类号 | C21D1/63 |
| 分类 | 铁的冶金; |
| 申请人名称 | 淄博强大集团有限公司 |
| 申请人地址 | 山东省淄博市博山区夏家庄路85号 |
专利法律状态
2020-06-30
授权
状态信息
授权
摘要
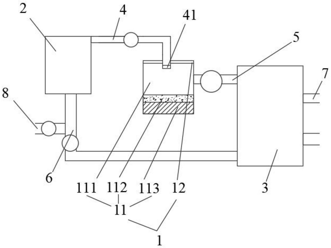
本实用新型属于热处理技术领域,具体涉及螺栓加工热处理余热利用装置,包括蓄热池、淬火冷却装置和热换器,所述淬火冷却装置与所述蓄热池通过热水注入管连接,所述蓄热池与所述热换器通过热水输出管连接,所述热换器冷却后的液体经循环管返回淬火冷却装置,所述热换器热换后的热水经输送管送至需用热水的工位,工作时,淬火冷却装置排出滚烫的液体经热水注入管进入蓄热池沉淀,沉淀后的液体经热水输出管进入热换器,热换冷却后的液体经循环管返回淬火冷却装置,热换器加热后的热水经输送管送至需用热水的工位;本实用新型结构简单,实用性强,充分利用生产螺栓时淬火产生的热量为生产或生活提供所需热水,对节约能源,降低生产成本意义重大。


