授权公布号:CN207635198U
层叠式庭院灯
有效
申请
2017-12-29
申请公布
1970-01-01
授权
2018-07-20
预估到期
2027-12-29
| 申请号 | CN201721899155.9 |
| 申请日 | 2017-12-29 |
| 授权公布号 | CN207635198U |
| 授权公告日 | 2018-07-20 |
| 分类号 | F21S8/08;F21V19/00;F21W131/109 |
| 分类 | 照明; |
| 申请人名称 | 山东科明光电科技有限公司 |
| 申请人地址 | 山东省淄博市周村区兴鲁大道999号 |
专利法律状态
2018-07-20
授权
状态信息
授权
摘要
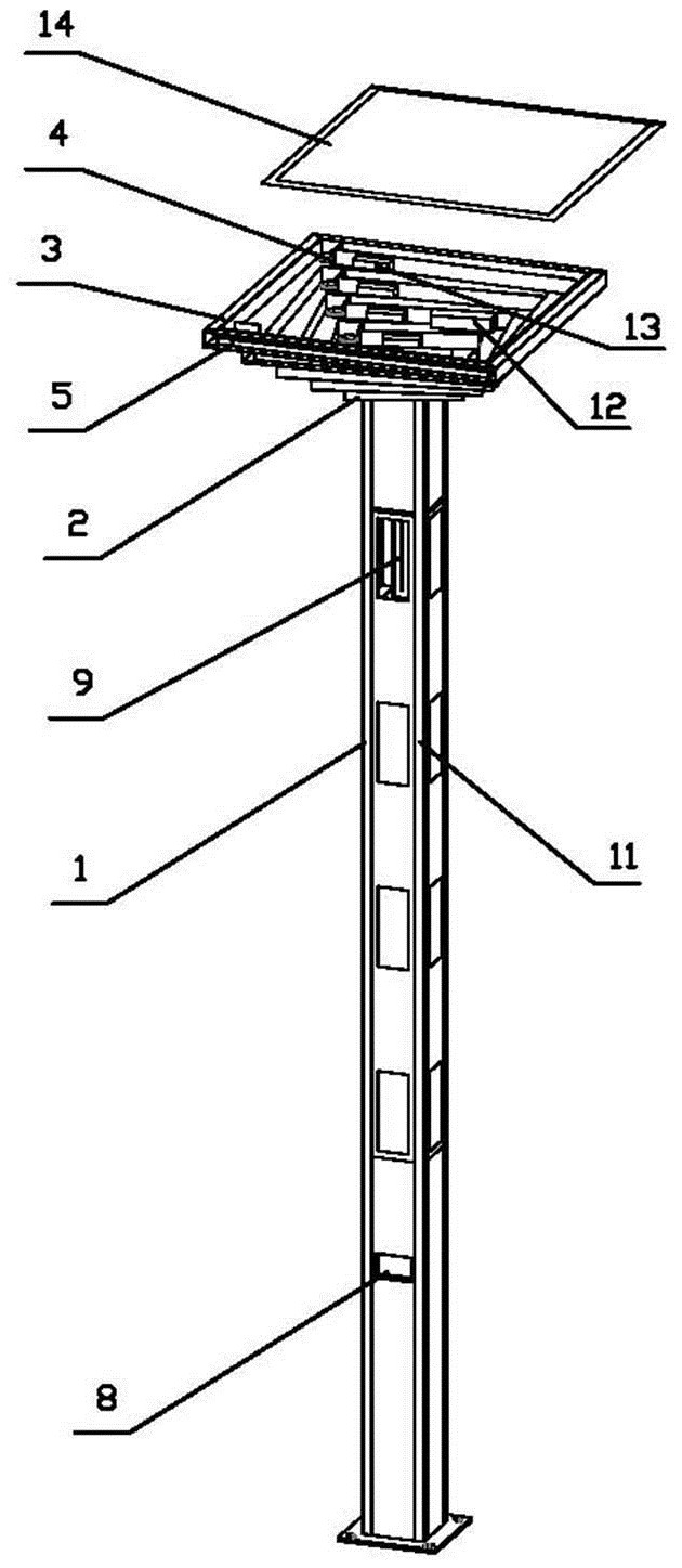
本实用新型涉及室外照明的技术领域,具体说是一种层叠式庭院灯。灯杆和固定安装在灯杆顶端的灯头,所述灯头包括壳体、固定安装在壳体内腔中的电气总成和点光源、固定安装在壳体外壁上的灯条,所述点光源的光线照射方向平行于灯杆的轴线,所述灯条的光线照射方向指向壳体的外侧并与灯杆的轴线垂直。该层叠式庭院灯结构合理、光源种类丰富、照明模式多样、照明效果好、密封效果佳,其光线照度合理、可变换多种照明模式并可以根据不同的需求改变照明模式达到按需照明、节约用电的目的。


