授权公布号:CN216240240U
一种塑钢门窗用拼接式型材
有效
申请
2021-10-12
申请公布
1970-01-01
授权
2022-04-08
预估到期
2031-10-12
| 申请号 | CN202122449044.0 |
| 申请日 | 2021-10-12 |
| 授权公布号 | CN216240240U |
| 授权公告日 | 2022-04-08 |
| 分类号 | E06B1/28;E06B1/30;E06B1/34;E06B3/20;E06B3/22;E06B3/30 |
| 分类 | 一般门、窗、百叶窗或卷辊遮帘;梯子; |
| 申请人名称 | 哈尔滨中大型材科技股份有限公司 |
| 申请人地址 | 黑龙江省哈尔滨市开发区迎宾路集中区崂山路4号 |
专利法律状态
2022-04-08
授权
状态信息
授权
摘要
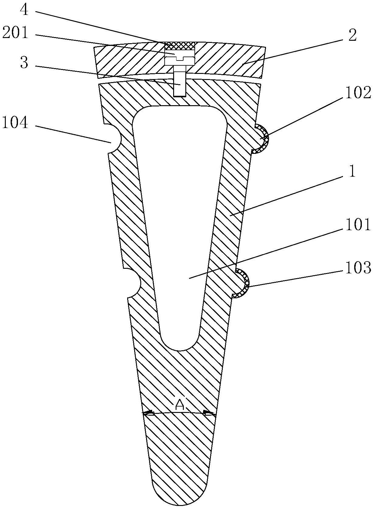
一种塑钢门窗用拼接式型材,它涉及一种塑钢门窗用型材,具体涉及一种塑钢门窗用拼接式型材。本实用新型为了解决现有塑钢窗的两个窗框之间拼接转角难以适应各种角度的窗口,给窗体的安装工作带来较大困难的问题。本实用新型包括型材主体,型材主体的横截面为扇形,所述扇形的圆心角为5°。本实用新型属于塑钢门窗领域。


