授权公布号:CN216767113U
一种断桥铝门窗框料型材结构
有效
申请
2021-12-31
申请公布
1970-01-01
授权
2022-06-17
预估到期
2031-12-31
| 申请号 | CN202123421314.3 |
| 申请日 | 2021-12-31 |
| 授权公布号 | CN216767113U |
| 授权公告日 | 2022-06-17 |
| 分类号 | E06B3/263 |
| 分类 | 一般门、窗、百叶窗或卷辊遮帘;梯子; |
| 申请人名称 | 哈尔滨中大型材科技股份有限公司 |
| 申请人地址 | 黑龙江省哈尔滨市开发区迎宾路集中区崂山路4号 |
专利法律状态
2022-06-17
授权
状态信息
授权
摘要
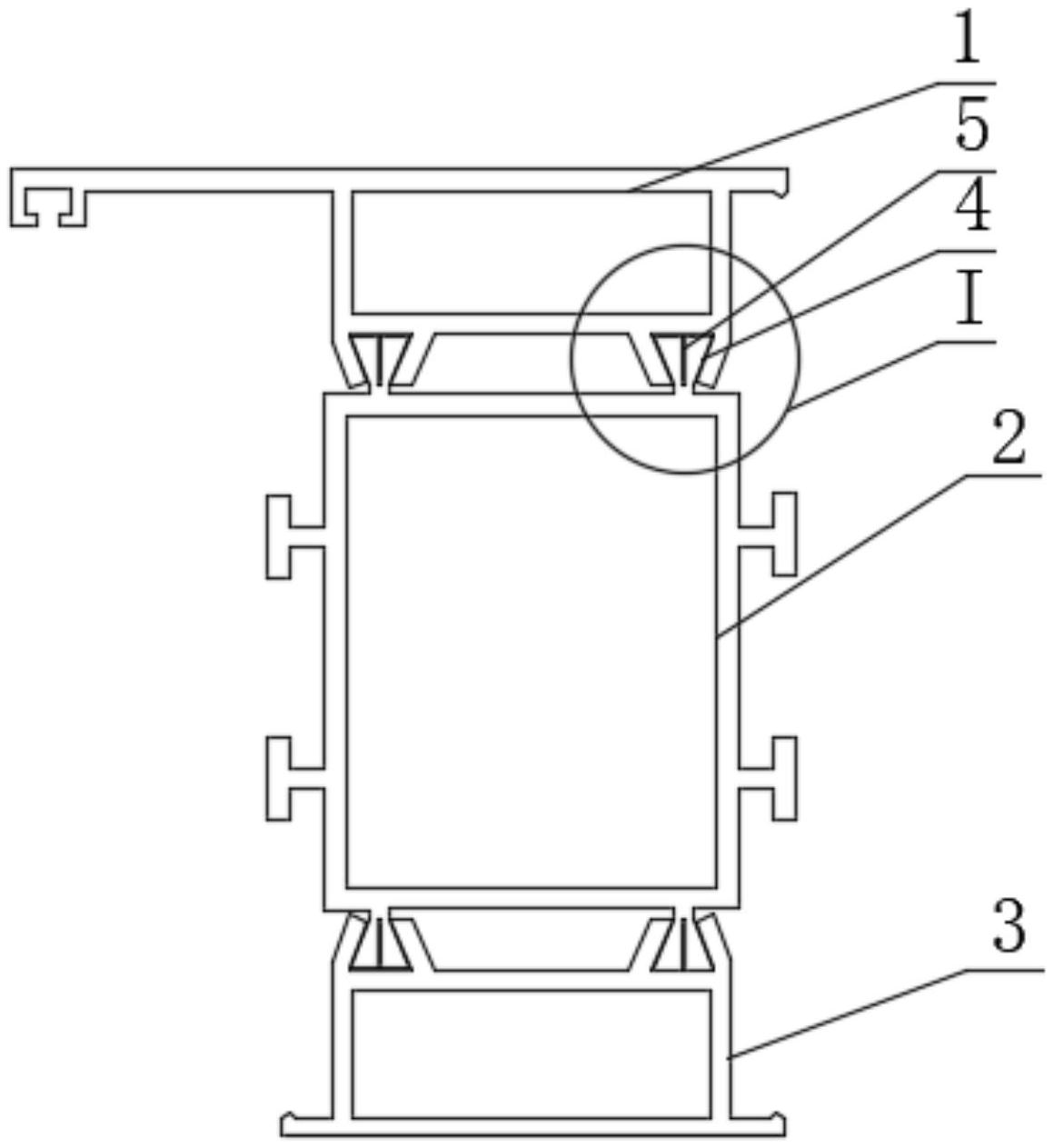
一种断桥铝门窗框料型材结构,涉及断桥铝门窗的技术领域。本实用新型解决了在环境温度变化时塑心型材的复合脚和铝合金卡槽之间必然会产生松动,严重影响了断桥铝门窗的结构稳定性的问题。内芯型材(2)位于室外侧框铝型材(1)和室内侧框铝型材(3)之间,内芯型材(2)上设置有复合脚(4),室外侧框铝型材(1)和室内侧框铝型材(3)均设置有卡槽,内芯型材(2)上的复合脚(4)与对应的复合轮复合为一体;内芯型材(2)为玻璃纤维增强复合型材,内芯型材(2)的复合脚(4)上沿其长度方向上设置有纵向条形槽(5)。本实用新型用于断桥铝门窗框料型材结构的连接。


