授权公布号:CN215408124U
一种具有腔体结构的门窗型材
有效
申请
2021-06-29
申请公布
1970-01-01
授权
2022-01-04
预估到期
2031-06-29
| 申请号 | CN202121459678.8 |
| 申请日 | 2021-06-29 |
| 授权公布号 | CN215408124U |
| 授权公告日 | 2022-01-04 |
| 分类号 | E06B3/26;E06B3/30;E06B3/58;E06B5/16;E06B5/20 |
| 分类 | 一般门、窗、百叶窗或卷辊遮帘;梯子; |
| 申请人名称 | 哈尔滨中大型材科技股份有限公司 |
| 申请人地址 | 黑龙江省哈尔滨市开发区迎宾路集中区崂山路4号 |
专利法律状态
2022-01-04
授权
状态信息
授权
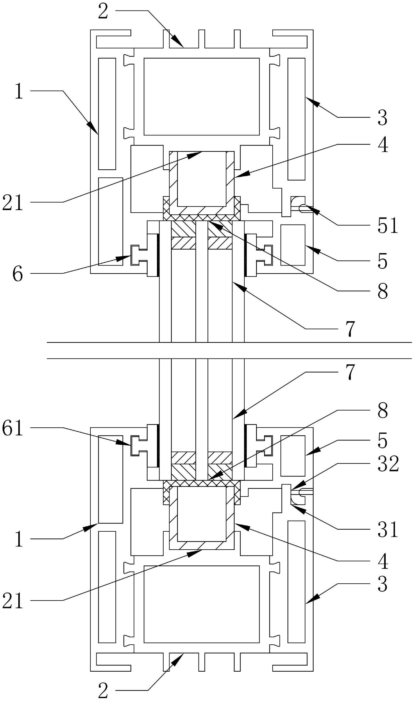
摘要
本实用新型公开了一种具有腔体结构的门窗型材,涉及门窗型材的技术领域,解决了现有的门窗型材隔音保温效果差、能源流失大,同时窗体难以拆装等问题,其中,外侧型材与内侧型材的通过连接型材连接,通过楔形结构特点连接,减少螺钉等连接件的使用,安装完成后整窗更加牢固稳定,外侧型材和内侧型材之间设有保温腔体,增大了外侧型材和内侧型材之间的空间面积,通过保温腔体结构将空间分割形成三个独立的腔体,三个腔体依次设于室内和室外之间,避免腔内的空气产生对流现象,导致能源流失,有效地增加了门窗型材在保温、阻汽、隔音三个方面的效果,设置可拆卸的压件,便于窗体的拆卸与安装,有效降低了窗体更换的危险系数。


