授权公布号:CN216008213U
一种塑钢门窗用插接式转角型材
有效
申请
2021-10-11
申请公布
1970-01-01
授权
2022-03-11
预估到期
2031-10-11
| 申请号 | CN202122446848.5 |
| 申请日 | 2021-10-11 |
| 授权公布号 | CN216008213U |
| 授权公告日 | 2022-03-11 |
| 分类号 | E06B3/20;E06B3/22;E06B1/28;E06B1/30;E06B3/964 |
| 分类 | 一般门、窗、百叶窗或卷辊遮帘;梯子; |
| 申请人名称 | 哈尔滨中大型材科技股份有限公司 |
| 申请人地址 | 黑龙江省哈尔滨市开发区迎宾路集中区崂山路4号 |
专利法律状态
2022-03-11
授权
状态信息
授权
摘要
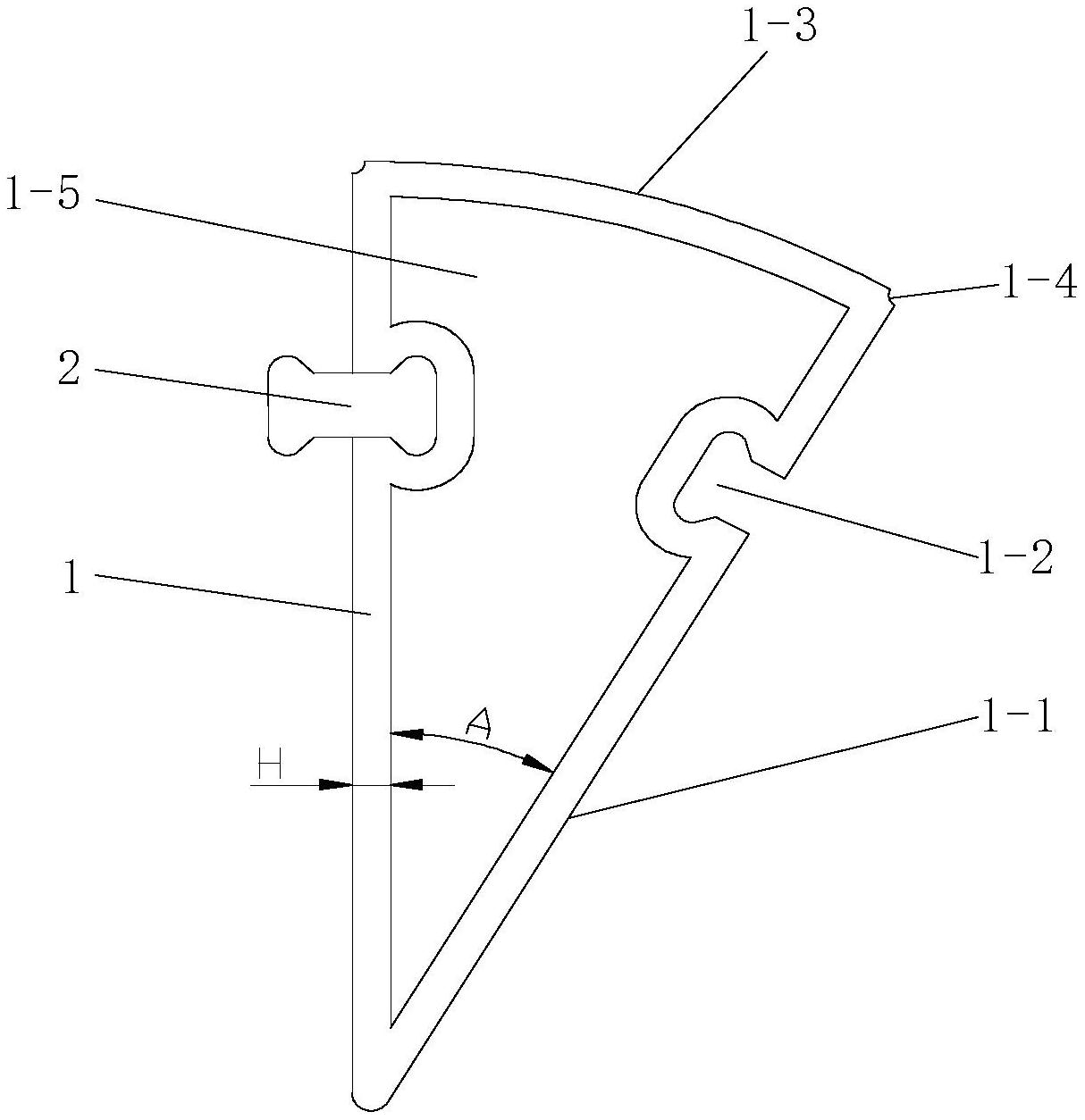
一种塑钢门窗用插接式转角型材,它涉及一种塑钢门窗用转角型材,具体涉及一种塑钢门窗用插接式转角型材。本实用新型为了解决现有塑钢门窗型材均是横截面为直角的型材,难以适应一些异形角度的建筑窗口的问题。本实用新型包括材主体;本实用新型还包括连接插条;所述型材主体的两侧侧面之间的夹角为30°,侧面上设有插槽,连接插条的端部插装在插槽内。本实用新型属于门窗型材领域。


