授权公布号:CN218438752U
一种用于铝包木门窗从动扇上无极调节锁紧度的销块
有效
申请
2022-07-26
申请公布
1970-01-01
授权
2023-02-03
预估到期
2032-07-26
| 申请号 | CN202221938663.4 |
| 申请日 | 2022-07-26 |
| 授权公布号 | CN218438752U |
| 授权公告日 | 2023-02-03 |
| 分类号 | E05B15/14 |
| 分类 | 锁;钥匙;门窗零件;保险箱; |
| 申请人名称 | 哈尔滨森鹰窗业股份有限公司 |
| 申请人地址 | 黑龙江省哈尔滨市南岗区王岗镇新农路9号 |
专利法律状态
2023-02-03
授权
状态信息
授权
摘要
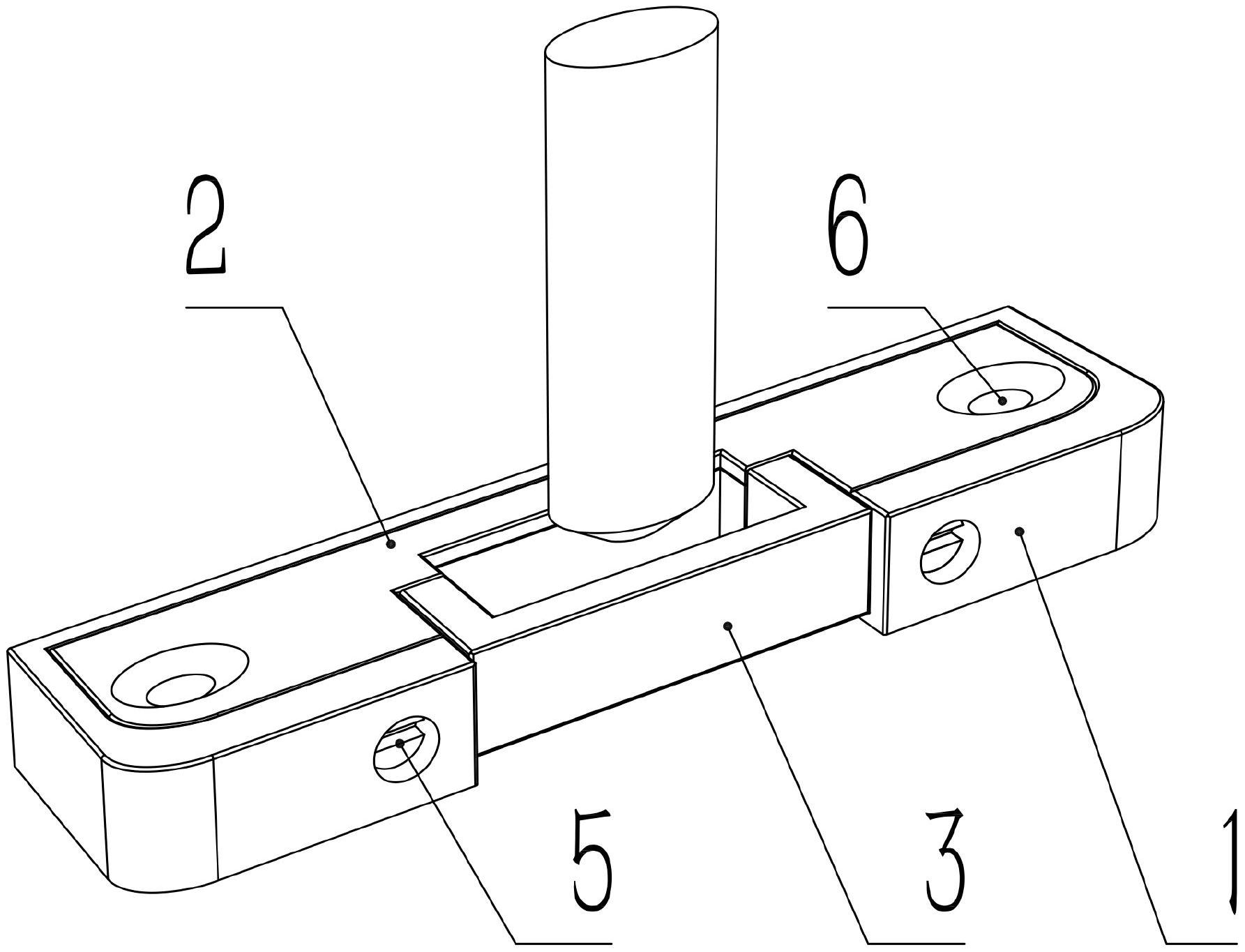
本实用新型公开了一种用于铝包木门窗从动扇上无极调节锁紧度的销块,涉及门窗配件的技术领域,解决了双开门门窗销块安装尺寸要求精准,锁闭困难,不容易将插销精准插入销块中,销块锁紧度不能调节,需要更改螺钉位置或重修螺钉孔的问题,本实用新型中,销块在框扇压合方向可无极调节压合量,保证了从扇锁紧度与密封,销块滑舌上设有导引坡,可顺利将插销导引插入销块孔中,形成锁闭,调节锁紧度时无需退出锁块与木材固定的螺钉,调节简单、方便。


