授权公布号:CN215115043U
一种栓剂快速真空测漏装置
有效
申请
2021-07-19
申请公布
1970-01-01
授权
2021-12-10
预估到期
2031-07-19
| 申请号 | CN202121637154.3 |
| 申请日 | 2021-07-19 |
| 授权公布号 | CN215115043U |
| 授权公告日 | 2021-12-10 |
| 分类号 | G01M3/20 |
| 分类 | 测量;测试; |
| 申请人名称 | 黑龙江成功药业有限公司 |
| 申请人地址 | 黑龙江省哈尔滨市利民经济技术开发区珠海路 |
专利法律状态
2021-12-10
授权
状态信息
授权
摘要
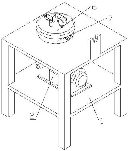
本实用新型公开了一种栓剂快速真空测漏装置,包括工作桌、真空泵机、一号连接嘴、支撑槽、支撑板、测漏部分,所述工作桌中部固定有一水平的真空泵机,所述真空泵机左部前端固定有一水平的一号连接嘴,所述工作桌上部固定有一竖直的支撑槽,所述工作桌顶端右部固定有一竖直的支撑板。本实用新型通过利用染料的扩散性能够对栓剂表面的基质的包裹性能进行快速判断,从而快速分辨不合格的栓剂,而通过设置可控上下滑动的搅拌桨在能够实现对颜料和水进行快速均匀混合的同时,又能够防止永磁铁和搅拌桨对栓剂的基质造成意外的挤压碎裂,从而能够避免误检现象的发生,而支撑板的设置则方便对压力盖进行放置,从而使得检测工作更加的方便。


