授权公布号:CN215970071U
一种栓剂模片检测装置
有效
申请
2021-07-19
申请公布
1970-01-01
授权
2022-03-08
预估到期
2031-07-19
| 申请号 | CN202121637133.1 |
| 申请日 | 2021-07-19 |
| 授权公布号 | CN215970071U |
| 授权公告日 | 2022-03-08 |
| 分类号 | B29C55/28;B29C37/00;G01M3/26 |
| 分类 | 塑料的加工;一般处于塑性状态物质的加工; |
| 申请人名称 | 黑龙江成功药业有限公司 |
| 申请人地址 | 黑龙江省哈尔滨市利民经济技术开发区珠海路 |
专利法律状态
2022-03-08
授权
状态信息
授权
摘要
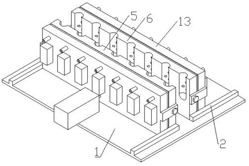
本实用新型公开了一种栓剂模片检测装置,包括工作台、导向条、气缸、带轴齿轮、前半模、后半模、传动齿条、凹槽、前通气孔、后通气孔、穿刺孔、框型密封胶条、检测部分,所述工作台顶端左右两部各固定有两水平的导向条,所述工作台顶端前部固定有一水平的气缸。本实用新型能够在对半成品的模片进行吹泡加工的过程中实现对半模密封性的检测,从而能够节省大量的检测时间,加快生产效率,而通过电磁铁、永磁铁和压力传感器的协同动作,能够实现对模片上密封性有问题的部位进行精准识别,同时并进行精准穿刺标记,在避免了漏检和误检现象发生的同时,又保证了密封性良好的模片的正常使用,避免了过渡的浪费。


