授权公布号:CN215283945U
一种具有稳定性的玉兰花瓶用外壁印刷装置
有效
申请
2021-07-27
申请公布
1970-01-01
授权
2021-12-24
预估到期
2031-07-27
| 申请号 | CN202121716507.9 |
| 申请日 | 2021-07-27 |
| 授权公布号 | CN215283945U |
| 授权公告日 | 2021-12-24 |
| 分类号 | B41F17/18 |
| 分类 | 印刷;排版机;打字机;模印机〔4〕; |
| 申请人名称 | 江西省玉风瓷业有限公司 |
| 申请人地址 | 江西省景德镇市珠山区新厂西路389号 |
专利法律状态
2021-12-24
授权
状态信息
授权
摘要
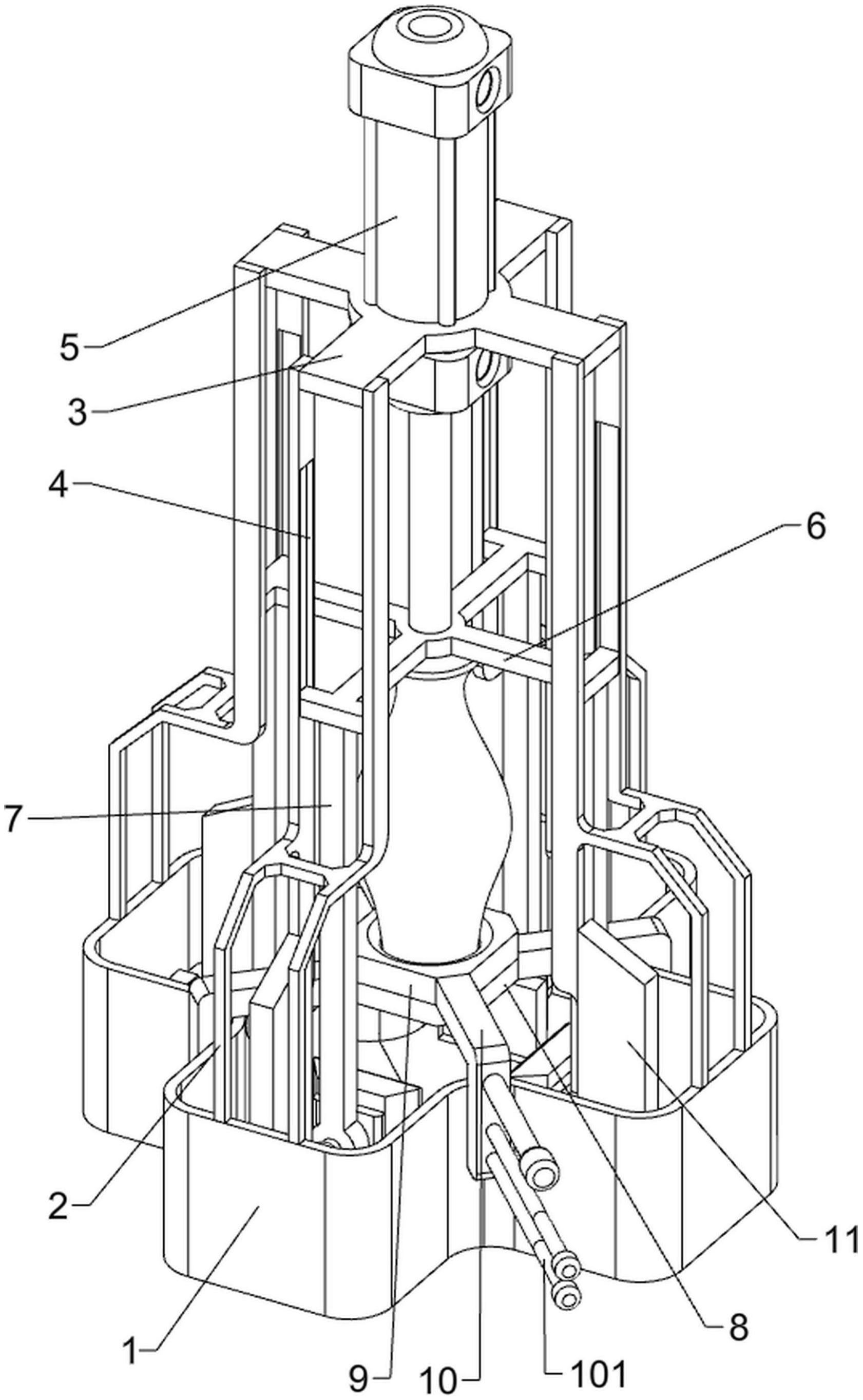
本实用新型涉及一种印刷装置,尤其涉及一种具有稳定性的玉兰花瓶用外壁印刷装置。本实用新型提供一种无需人工手持花瓶毛胚,能够固定花瓶进行印刷,工作效率高的具有稳定性的玉兰花瓶用外壁印刷装置。一种具有稳定性的玉兰花瓶用外壁印刷装置,包括储水框,用于储存颜料水,其上安装有第二固定架;连接架,其设有四个,沿周均匀间隔安装在储水框上,连接架上对称式开有两条滑槽;楔形块,安装在连接架上;第一固定架,连接在四个连接架之间。本实用新型的储水框能够储存颜料水,放置板能够放置花瓶毛胚,印刷板能够吸收颜料水,通过气缸驱动下压杆向上移动,印刷板能够向内侧移动与花瓶毛胚接触并进行印刷,提高了印刷的工作效率。


