授权公布号:CN219035517U
一种用于棉柔巾折叠机皮带轮的加装防护罩
有效
申请
2022-11-24
申请公布
1970-01-01
授权
2023-05-16
预估到期
2032-11-24
| 申请号 | CN202223125730.3 |
| 申请日 | 2022-11-24 |
| 授权公布号 | CN219035517U |
| 授权公告日 | 2023-05-16 |
| 分类号 | F16H57/035;B65H45/00 |
| 分类 | 工程元件或部件;为产生和保持机器或设备的有效运行的一般措施;一般绝热; |
| 申请人名称 | 金红叶纸业集团有限公司 |
| 申请人地址 | 江苏省苏州市中国(江苏)自由贸易试验区苏州片区苏州工业园区金胜路1号 |
专利法律状态
2023-05-16
授权
状态信息
授权
摘要
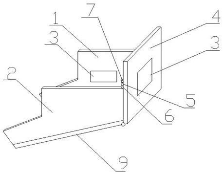
本实用新型公开了一种用于棉柔巾折叠机皮带轮的加装防护罩,包括第一防护板、第二防护板、第三防护板和底板,所述底板一侧与所述第一防护板通过活动铰接轴活动连接,所述底板另一侧所述第二防护板通过活动铰接轴活动连接,所述第三防护板与底板通过活动铰接轴活动连接,所述第一防护板和第二防护板与第三防护板合围成防护罩并通过固定机构实现限位固定。一种用于棉柔巾折叠机皮带轮的加装防护罩,利用加装防护罩对皮带轮进行安全防护,加装防护罩为整体为组合件,即加装防护罩是由第一防护板、第二防护板、第三防护板和底板构成,可以将加装防护罩折叠起来,这样就可以使得加装防护罩的占用面积降到最低,便于加装防护罩的收纳。


