授权公布号:CN215109190U
一种用于凿岩机上的转动副
有效
申请
2021-03-26
申请公布
1970-01-01
授权
2021-12-10
预估到期
2031-03-26
| 申请号 | CN202120617507.7 |
| 申请日 | 2021-03-26 |
| 授权公布号 | CN215109190U |
| 授权公告日 | 2021-12-10 |
| 分类号 | F02F1/20;F02F3/00;F02B77/00 |
| 分类 | 燃烧发动机;热气或燃烧生成物的发动机装置; |
| 申请人名称 | 天水风动机械股份有限公司 |
| 申请人地址 | 甘肃省天水市麦积区社棠路16号发展规划部 |
专利法律状态
2021-12-10
授权
状态信息
授权
摘要
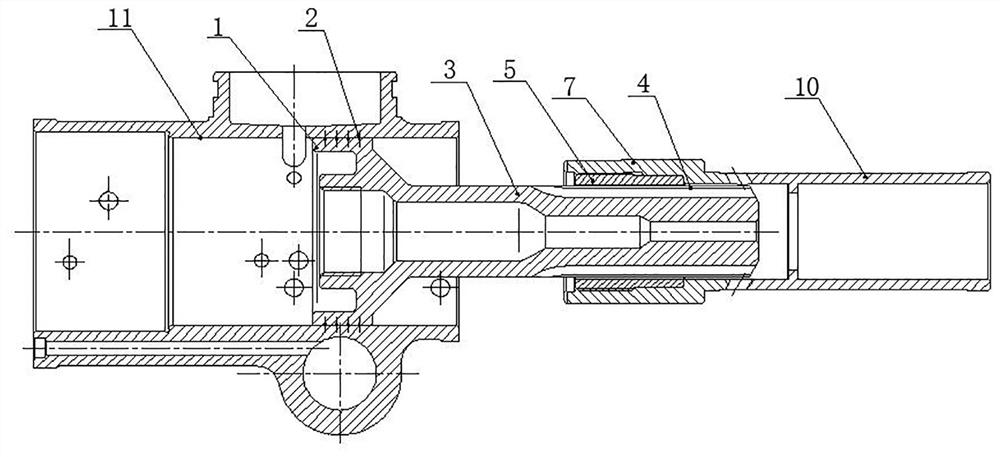
本实用新型属于凿岩机技术领域,公开了一种用于凿岩机上的转动副,以解决现有技术凿岩机转动副中存在的技术问题,该用于凿岩机上的转动副,包括转动套、活塞,所述活塞包括活塞杆及活塞裙,所述活塞杆与转动套通过过渡连接件连接,活塞裙上沿活塞裙的圆周方向设有多个油槽,且活塞裙与缸体配合安装。本实用新型在加工活塞时在其活塞裙表面加工油槽,活塞运动时,润滑油进入环形槽中,进行贮油,有利于缸体和活塞润滑油膜的形成,减轻活塞摩损。本实用新型为了降低磨损,增大转动副接触面积,当气压不变时,转动副之间摩擦力减小,转矩增大,可以降低转动副之间的磨损和改善其导热性,提高了转动副使用寿命,降低成本,提高了工作效率。


