授权公布号:CN217889635U
一种组合式槽与棱一体化加工刀具
有效
申请
2022-08-30
申请公布
1970-01-01
授权
2022-11-25
预估到期
2032-08-30
| 申请号 | CN202222306733.0 |
| 申请日 | 2022-08-30 |
| 授权公布号 | CN217889635U |
| 授权公告日 | 2022-11-25 |
| 分类号 | B23C5/20 |
| 分类 | 机床;不包含在其他类目中的金属加工; |
| 申请人名称 | 天水风动机械股份有限公司 |
| 申请人地址 | 甘肃省天水市麦积区社棠路16号 |
专利法律状态
2022-11-25
授权
状态信息
授权
摘要
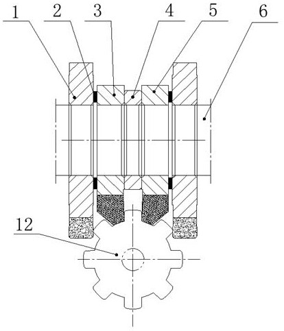
本实用新型属于机械加工领域,公开了一种一种组合式槽与棱一体化加工刀具,以解决现有技术加工轴向尺寸较大的花键类零件中存在的技术问题,该刀具包括安装在刀轴上的第一调整刀垫,第一调整刀垫的一侧装有第一槽刀,调整刀垫的另一侧装有与第一槽刀对称的第二槽刀,第一槽刀、第二槽刀的外侧均装有棱刀,第一槽刀、第二槽刀的槽刀片相对的一侧均设有第一倾斜刀面,第一槽刀、第二槽刀的槽刀片另一侧均设有第二倾斜刀面,且第二倾斜刀面的倾斜角大于第一倾斜刀面的倾斜角。本实用新型整个刀是组装式,通过调节刀垫厚度以适应不同零件加工需求,适应范围广,综合成本低。利用该刀具使得花键的槽、棱一次装夹加工,效率精度高,提高了经济效率。


