授权公布号:CN212614479U
一种凿岩机外回转马达的连接装置
有效
申请
2020-06-15
申请公布
1970-01-01
授权
2021-02-26
预估到期
2030-06-15
| 申请号 | CN202021100644.5 |
| 申请日 | 2020-06-15 |
| 授权公布号 | CN212614479U |
| 授权公告日 | 2021-02-26 |
| 分类号 | E21B3/02;E21B7/00 |
| 分类 | 土层或岩石的钻进;采矿; |
| 申请人名称 | 天水风动机械股份有限公司 |
| 申请人地址 | 甘肃省天水市麦积区社棠路16号发展规划部 |
专利法律状态
2021-02-26
授权
状态信息
授权
摘要
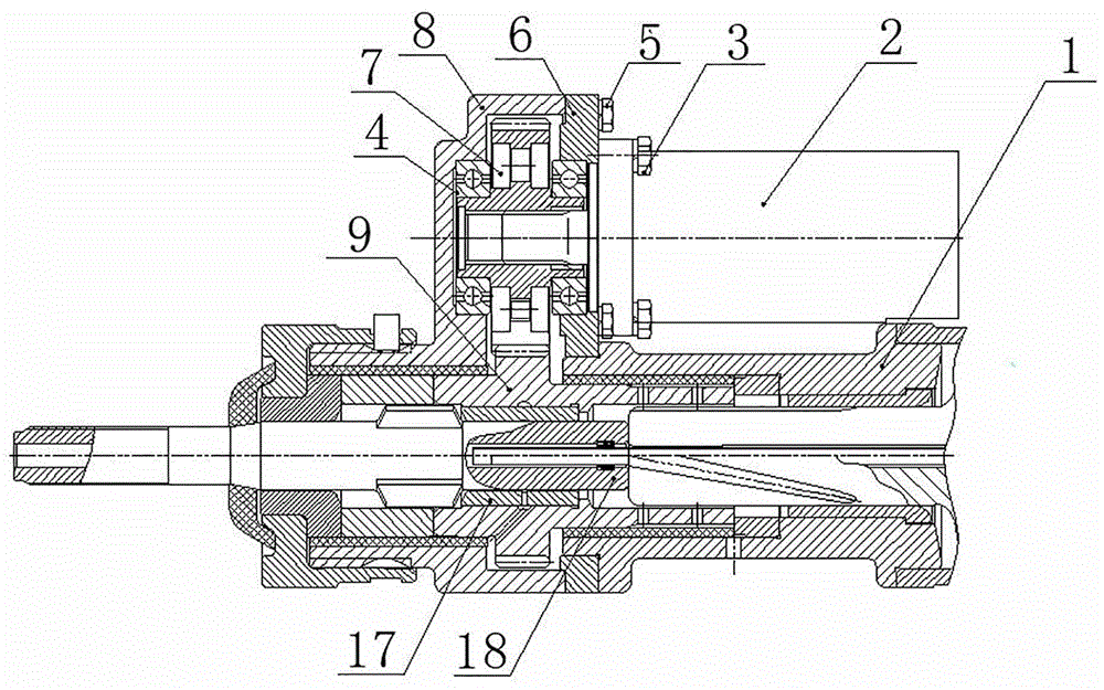
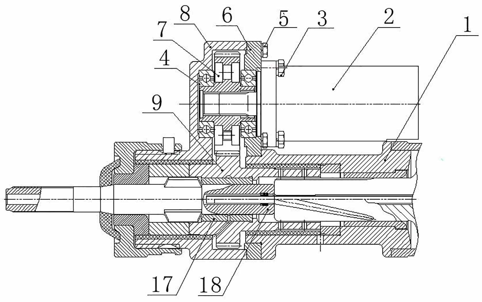
本实用新型属于导轨式气动凿岩机技术领域,公开了一种凿岩机外回转马达的连接装置,以解决现有技术中回转凿岩机钻孔深度增加后钻进速度下降的问题,该装置包括与凿岩机连接体配合安装的连接盘,连接盘的上部一侧可拆卸安装有马达,连接盘的上部另一侧可拆卸安装有凿岩机机头,凿岩机机头内装有齿轮,齿轮由马达驱动,齿轮啮合有转动套,且转动套安装在凿岩机连接体及凿岩机机头中可传递扭矩给凿岩机钎尾。本实用新型通过少量的结构简单的零件,在低成本的条件下增加导轨式气动凿岩机的回转扭矩,有效提高凿岩机钻凿深孔的钻进速度,提高了凿岩机的工作效率。


