授权公布号:CN215109084U
一种用于凿岩机上的消声罩
有效
申请
2021-03-26
申请公布
1970-01-01
授权
2021-12-10
预估到期
2031-03-26
| 申请号 | CN202120617508.1 |
| 申请日 | 2021-03-26 |
| 授权公布号 | CN215109084U |
| 授权公告日 | 2021-12-10 |
| 分类号 | F01N1/10;F01N13/18;F01N13/08;F01N13/00 |
| 分类 | 一般机器或发动机;一般的发动机装置;蒸汽机; |
| 申请人名称 | 天水风动机械股份有限公司 |
| 申请人地址 | 甘肃省天水市麦积区社棠路16号发展规划部 |
专利法律状态
2021-12-10
授权
状态信息
授权
摘要
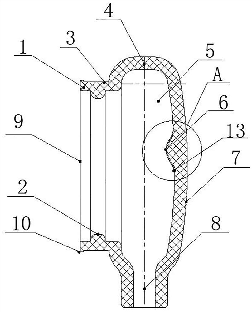
本实用新型属于凿岩机技术领域,公开了一种用于凿岩机上的消声罩,以解决现有技术凿岩机消声罩中存在的技术问题,该消声罩包括消声罩本体,消声罩本体内为膨胀腔,消声罩本体上设有出气口,消声罩本体的一侧为连接端,连接端上设有进气口,消声罩本体的另一侧为消声壁,消声壁的内侧设有消声筋。本实用新型在凿岩机工作时,产生的废气进入消声罩,从而达到降低噪声的作用。消声罩的消声筋,可使消声罩更不容易变形,消声罩的内壁不圆滑平整,属于抗性消音器。期间产生的压气进入膨胀室通过排气膨胀作用,更好的使排气脉动压下降,来消除气流脉动的噪声,本实用新型结构简单,使用效果良好,保护了工作人员身体健康,从而提高了生产效率。


