授权公布号:CN216419853U
RTV自喷装置的喷出系统
有效
申请
2021-11-17
申请公布
1970-01-01
授权
2022-05-03
预估到期
2031-11-17
| 申请号 | CN202122821123.X |
| 申请日 | 2021-11-17 |
| 授权公布号 | CN216419853U |
| 授权公告日 | 2022-05-03 |
| 分类号 | B05B11/02 |
| 分类 | 一般喷射或雾化;对表面涂覆液体或其他流体的一般方法〔2〕; |
| 申请人名称 | 河北硅谷化工有限公司 |
| 申请人地址 | 河北省邯郸市永年区广府镇东关 |
专利法律状态
2022-05-03
授权
状态信息
授权
摘要
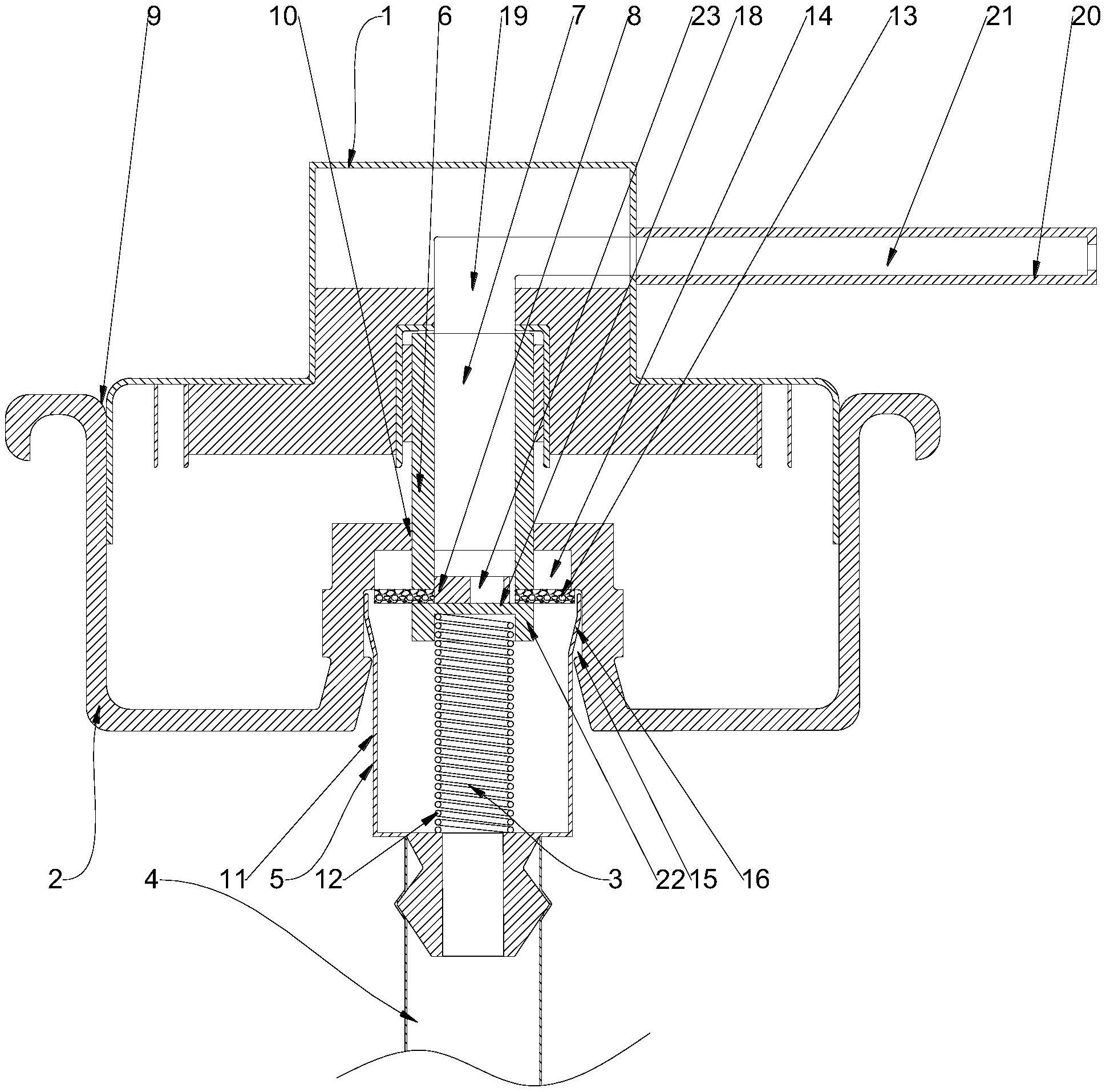
本实用新型涉及RTV喷涂技术领域,提出了RTV自喷装置的喷出系统,包括依次设置的喷头、喷嘴盒、活塞组件和导流管,喷头滑动设置在喷嘴盒上,活塞组件穿过喷嘴盒与喷头连通,导流管设置在活塞组件上,活塞组件包括储液套管组件,设置在喷嘴盒上,且与导流管连通,活塞管滑动设置在储液套管组件内,具有第一通道,封头具有若干个分隔板,分隔板设置在第一通道入口处,活塞管和封头形成若干个进液口。密封件套设在活塞管和封头之间,随活塞管滑动设置在储液筒的内壁上,密封件滑动后变形,控制进液口打开或关闭。通过上述技术方案,解决了相关技术中的结构导致按压时进气不足,导致喷出过程不顺畅容易粘堵的问题。


