授权公布号:CN215175117U
固废热解炉热解气处理与净化系统
有效
申请
2020-12-02
申请公布
1970-01-01
授权
2021-12-14
预估到期
2030-12-02
| 申请号 | CN202022856980.9 |
| 申请日 | 2020-12-02 |
| 授权公布号 | CN215175117U |
| 授权公告日 | 2021-12-14 |
| 分类号 | F23G7/06;B01D50/00;B01D53/78;B01D53/10 |
| 分类 | 燃烧设备;燃烧方法; |
| 申请人名称 | 百合花集团股份有限公司 |
| 申请人地址 | 浙江省杭州市萧山区钱塘新区经五路1768号 |
专利法律状态
2021-12-14
授权
状态信息
授权
摘要
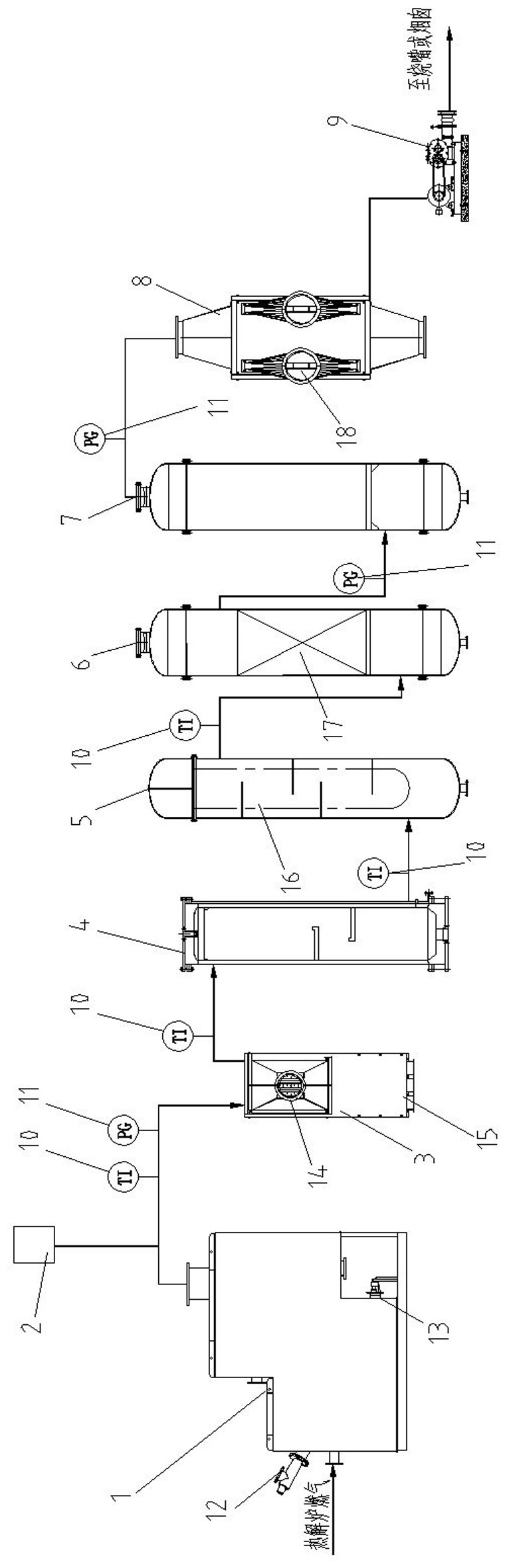
本实用新型公开了一种热解炉热解气净化系统,包括依次通过管道相连的二燃室、脱硝设备、除尘换热器、急冷塔、水冷塔、碱洗塔、活性炭喷射塔、布袋除尘器;热解气通过管道依次进入各处理单元,经过各处理单元后达到本单元的处理要进入后续处理;连接的所述管道上均设置温度计,对气体出气温度进行在线监测,确保出气温度在合理范围内;本实用新型的优点在于:热解气经过整套净化系统后,杜绝二噁英的产生,解决了热解气携带灰尘,焦油等问题,实现了热解气的高效处理与净化。热解气的回烧利用,节约了部分热源供给,降低处理成本。


