授权公布号:CN218710152U
一种用于热解低阶煤生产的进料机构
有效
申请
2022-07-27
申请公布
1970-01-01
授权
2023-03-24
预估到期
2032-07-27
| 申请号 | CN202221949804.2 |
| 申请日 | 2022-07-27 |
| 授权公布号 | CN218710152U |
| 授权公告日 | 2023-03-24 |
| 分类号 | C10B31/00;B01J4/00 |
| 分类 | 石油、煤气及炼焦工业;含一氧化碳的工业气体;燃料;润滑剂;泥煤; |
| 申请人名称 | 江苏鹏飞集团股份有限公司 |
| 申请人地址 | 江苏省南通市海安市北郊贲家集 |
专利法律状态
2023-03-24
授权
状态信息
授权
摘要
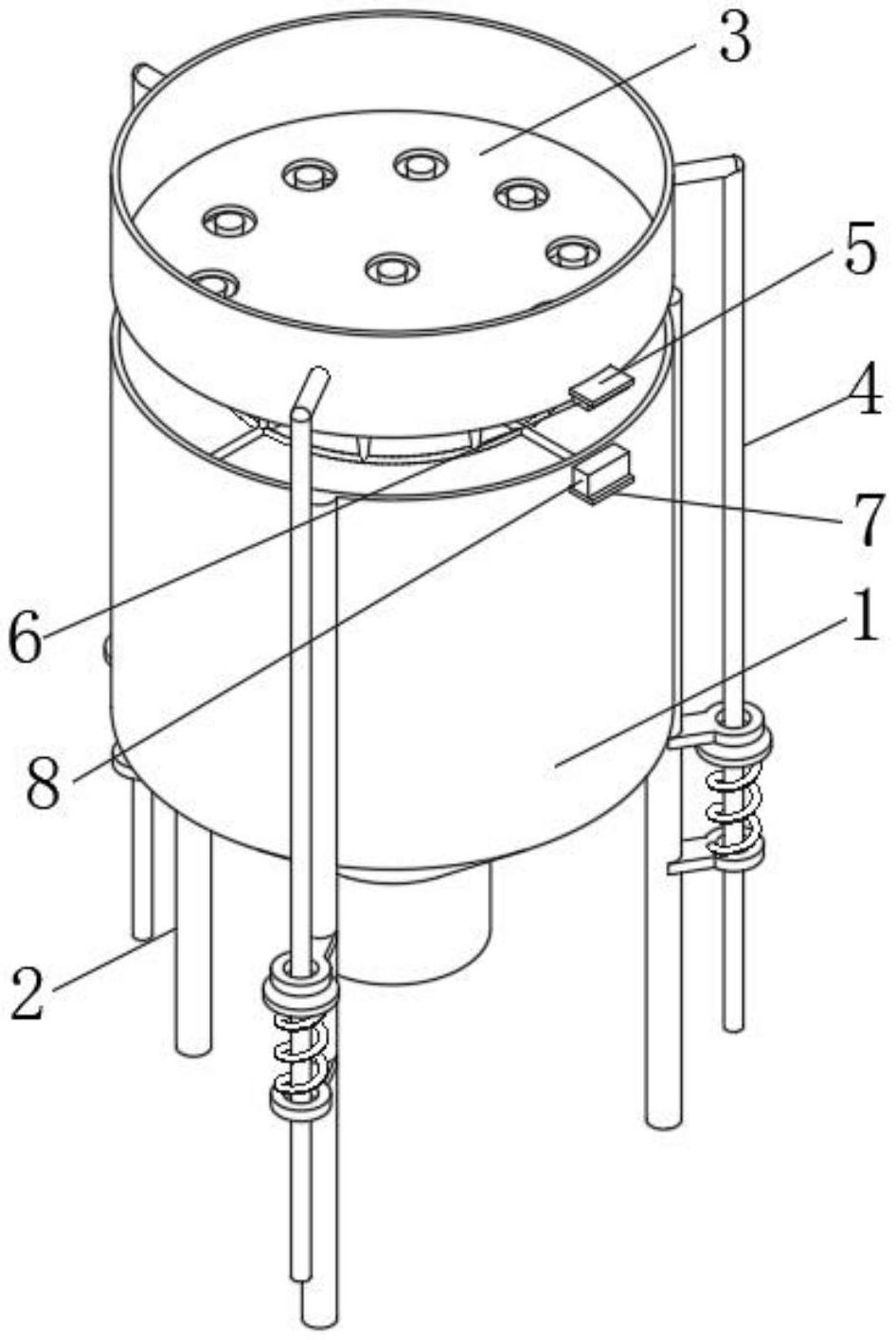
本实用新型公开了一种用于热解低阶煤生产的进料机构,属于煤焦油生产领域,包括进料斗,进料斗的侧面位置固定安装有若干个支撑杆,进料斗的上方位置固定安装有缓冲盘,缓冲盘的侧面位置固定安装有若干个次撑杆,进料斗的侧面位置固定安装有门磁报警器,缓冲盘的侧面位置固定安装有磁条,通过设置的缓冲盘结构,能够缓冲煤掉落的冲击力,保护进料斗避免损坏,通过设置的门磁报警器和磁条结构,当煤运送不均匀时,门磁报警器断续报警,提醒用户,当煤运输结束后,门磁报警器长时间报警,提醒用户及时添加原料,且缓冲盘慢慢的升高,通道孔和锥形头之间的缝隙空间逐渐减少,降低煤的下落速度,从而给与工作人员更多的加煤时间。


