授权公布号:CN109536186B
固体热载体法烘干热解一体式回转窑及烘干热解方法
有效
申请
2019-01-10
申请公布
2019-03-29
授权
2024-01-12
预估到期
2039-01-10
| 申请号 | CN201910024575.X |
| 申请日 | 2019-01-10 |
| 申请公布号 | CN109536186A |
| 申请公布日 | 2019-03-29 |
| 授权公布号 | CN109536186B |
| 授权公告日 | 2024-01-12 |
| 分类号 | F26B17/32;F26B23/00 |
| 分类 | 石油、煤气及炼焦工业;含一氧化碳的工业气体;燃料;润滑剂;泥煤; |
| 申请人名称 | 江苏鹏飞集团股份有限公司 |
| 申请人地址 | 江苏省南通市海安县城北工业园 |
专利法律状态
2024-01-12
授权
状态信息
授权
2019-04-23
实质审查的生效
状态信息
实质审查的生效;IPC(主分类):C10B53/00;申请日:20190110
2019-03-29
公布
状态信息
公布
摘要
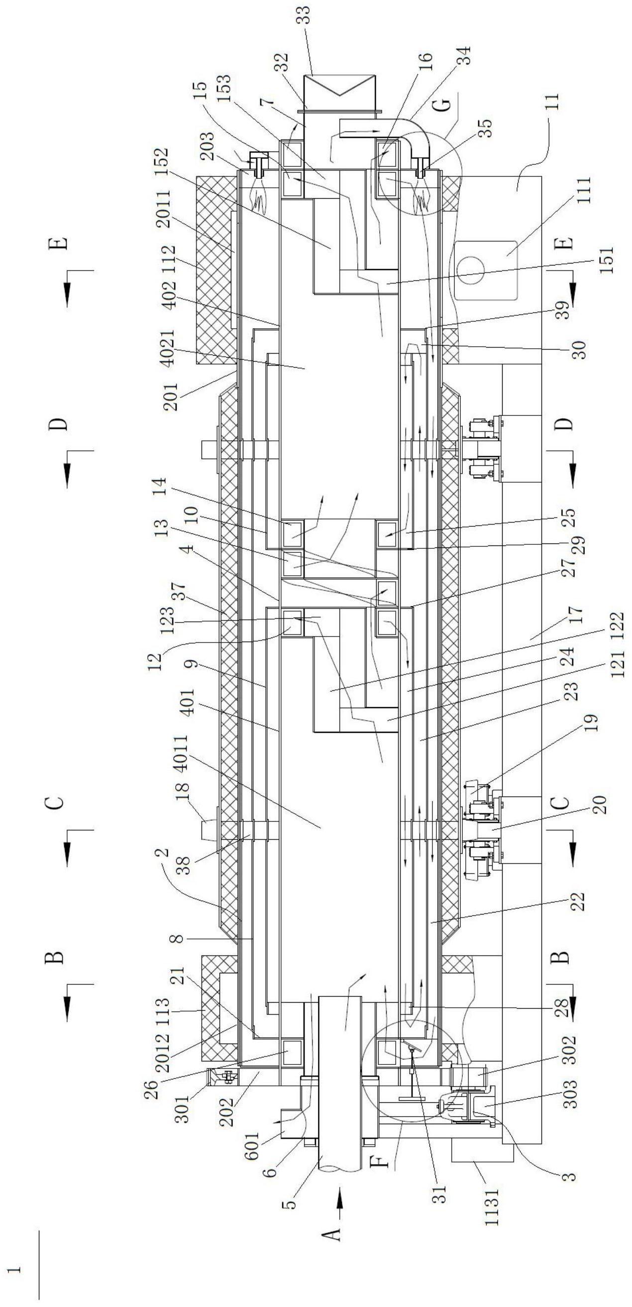
本发明涉及一种固体热载体法烘干热解一体式回转窑及烘干热解方法,该回转窑包括:外筒;驱动装置,与外筒连接,驱动装置用于驱动外筒转动;内筒,设置于外筒内,并与外筒固体连接,内筒通过外筒转动而带动其转动,内筒包括烘干段筒体和热解段筒体,烘干段筒体用于为热载体烘干物料提供第一容置空间,热解段筒体用于为热载体热解物料提供第二容置空间。本发明采用双筒结构,通过在第一通道、第二通道、第三通道、第四通道对热载体进行加热,在烘干段筒体对物料进行烘干,在热解段筒体对物料进行热解,使物料的烘干和热解在同一台设备内完成,并且还实现了热烟气、水蒸气及热解气的分开排出,同时还有效利用了空间,进而减小了设备体积小。


