授权公布号:CN211771500U
设置有取样装置的稀土萃取槽
有效
申请
2019-12-19
申请公布
1970-01-01
授权
2020-10-27
预估到期
2029-12-19
| 申请号 | CN201922294684.1 |
| 申请日 | 2019-12-19 |
| 授权公布号 | CN211771500U |
| 授权公告日 | 2020-10-27 |
| 分类号 | C22B59/00 |
| 分类 | 冶金;黑色或有色金属合金;合金或有色金属的处理; |
| 申请人名称 | 包头华美稀土高科有限公司 |
| 申请人地址 | 内蒙古自治区包头市九原区麻池镇东壕口村 |
专利法律状态
2020-10-27
授权
状态信息
授权
摘要
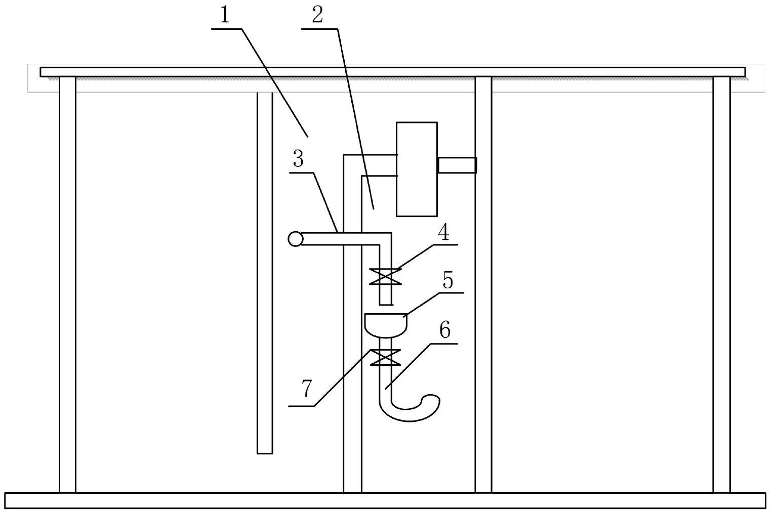
本实用新型公开了设置有取样装置的稀土萃取槽,包括水相盒外盒和水相盒内盒,水相盒外盒的壁板外侧连接有进料端取样连通管道,进料端取样连通管道设置有第一控制截止阀;水相盒内盒的壁板外侧连接有接料端连通管道,接料端连通管道的一个端部连接在水相盒内盒上,另一端连接有漏斗,接料端连通管道上设置有第二控制截止阀;进料端取样连通管道的一端连接在水相盒外盒上,另一端位于漏斗的开口上方。本实用新型能有效避免取样时登高操作产生的不安全性,并且提高工作效率,减少料液的不必要损失,减轻劳动强度。


